Промышленный лизинг Промышленный лизинг  Методички 

0 1 2 3 4 5 6 7 8 9 10 11 12 13 14 [ 15 ] 16 17 18 19 20 21 22 23 24 25 26 27 28 29 30 31 32 33 34 35 36 37 38 39 40 41 42 43 44 45 46 47 48 49 50 51 52 53 54 55 56 57 58


Рис. 60. Пневматическая рессора с упругими элементами:

а - балонным и б - днафрагменным: / - пневмоэлемент; 2 - дополнительный резервуар; 3 - трубопровод; 4 - пружина

Назначение высоторегулирующего клапана - поддерживать заданную высоту главной рамы локомотива относительно головок рельсов при помощи автоматического изменения давления воздуха в пневмобаллонах. Клапан служит для сообщения пневмо-баллона с питающей магистралью или с атмосферой в зависимости от необходимости увеличения или уменьшения давления воздуха в баллоне.

На локомотивах применяют упругие элементы баллонного (рис. 60, а) и диафрагменного типов (рис. 60, б). Наиболее простую конструкцию имеют элементы баллонного типа. Однако жесткость их в поперечном направлении незначительна. Наличие диафраг-менных элементов позволяет обеспечивать необходимую жесткость рессорного подвешивания во всех направлениях. Комбинированные рессоры состоят из элементов этих двух типов.

Внутри каждого баллона обязательно имеется упругий элемент, выполненный или из цилиндрических пружин 4, или в виде резинового амортизатора (см. рис. 60, а). Наличие таких упругих элементов позволяет гарантировать безопасность движения, если по каким-либо причинам давление воздуха в рессоре снизится. Иногда параллельно пневморессоре устанавливают гидравлический гаситель колебаний.

Обычно давление в пневматических рессорах локомотивов устанавливают 0,4-0,6 МПа. Давление в упругом пневмоэлементе выбирают таким, чтобы оно всегда было ниже минимального, обеспечиваемого источником питания. В результате эксплуатации локомотивов с пневматическим подвешиванием установлено, что расход воздуха из главного тормозного резервуара вследствие неплотностей невелик (около 1 л/мин на рессору). Более значителен расход воздуха в результате периодического срабатывания высоторегулирующих клапанов при движении по участкам с большим количеством кривых. По данным испытаний, при движении дизель-поезда по таким участкам со скоростью 85 км/ч расход воздуха (на один вагон) составил примерно 30 л/мин, а при дви-92

жении со скоростью 110 км/ч - около 130 л/мин, т. е. относительно небольшую долю общей подачи тормозного компрессора.

Особенностью пневморессоры является то, что упругим телом в ней служит воздух и соответствующие характеристики определяются в основном термодинамическими процессами, протекающими в газе. Принимая этот процесс политропным, можно найти номинальную жесткость пневматического упругого элемента

Жо = PlpJVo + Ра {dFэф/db),

где fэф - эффективная (несущая) площадь пневмоэлемента, равная лDф/4; п-показатель политропы, равный 1,3-1,5; ра - номинальное давление в пневмоэлементе; Vo - общий объем пневмоэлемента и дополнительного резервуара; б - ход пневмоэлемента; Dэф-эффективный диаметр пневморессоры.

По значениям статической жесткости определяют эквивалентный ей условный статический прогиб А = {N/Жд), который также зависит от давления в пневмоэлементе, его объема и объема дополнительного резервуара. На тепловозах ТЭ7, 2ТЭ10Л, ТГМЗ и ТЭМ7 удалось получить условный статический прогиб 180 мм и более. Это позволило значительно (в 2-2,5 раза) снизить вертикальные ускорения кузова и рамы тележки, а также коэффициент динамики рессорного подвешивания.

В процессе деформации жесткость пневморессоры

FLnVl

Ра + Р

dFэф

где р - текущее значение давления в пневмоэлементе.

Таким образом, жесткость пневматической рессоры зависит от значений ее начальных и текущих параметров, а также деформации баллона при изменении нагрузки. Иначе говоря, пневморес-сора имеет нелинейную характеристику, хотя нелинейность в пределах изменения нагрузок, действующих на рессору, невелика.

Поперечный возвращающий эффект в диафрагменной пневморессоре достигается в основном в результате изменения площади и формы поверхности контакта оболочки с поршнем пневморессоры и частично жесткости оболочки. Одним из достоинств пнев-моподвешнвания является простота обеспечения балансировки отдельных упругих комплектов вследствие распределения воздуха между отдельными пневморессорами. Существуют конструкции, позволяющие с изменением скорости движения изменять число точек подвешивания: на малых скоростях подвешивание трехточечное, на повышенных скоростях - четырехточечное.

Пневматическое подвешивание локомотива позволяет автоматически компенсировать недостаточное возвышение наружного рельса в кривых участках пути и тем самым повысить скорость движения по кривым примерно на 20-25%, что весьма важно при организации скоростного движения на существующих путях.



фрикционные гасители колебаний характеризуются тем, что зависимость реализуемой в них силы трения N.,-p от относительной скорости скольжения трущихся поверхностей имеет разрыв прп А = 0. Аналитически этот разрыв описывают функцией signA.

По характеристике Л/р = / (А), где А -текущий прогиб подвешивания, фрикционные гасители разделяют на гасители с постоянной силой трения

Лтр = No sign А

и гасители с силой трения, пропорциональной перемещению, Nrp = 9paKAsign А,

где фр - коэффициент относительного трения; ж - жесткость рессорного подвешивания.

По величинам силы трения при различных направлениях перемещения различают фрикционные гасители с симметричной и несимметричной характеристиками.

По характеру соединения с элементами экипажной части или другими элементами рессорного подвешивания фрикционные гасители делят на соединенныежестко и через упругие элементы. Во втором случае фрикционные гасители принято называть упруго-фрикционными.

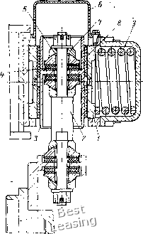
Фрикционный гаситель колебаний (рис. 61) тепловоза 2ТЭ116 имеет корпус 7, который установлен на раме тележки. Шток 2 одним концом упруго прикреплен к кронштейну буксы, а второй его конец соединен со стальным поршнем 3, зажатым пружиной 9 между двумя вкладышами 8. Вкладыши 8 имеют накладки из вальцованной ленты. При колебаниях надрессорного строения происходит перемещение рамы тележки относительно оси с буксой. Это вызывает перемещение поршня S между вкладышами 8. Пружина 9, развивающая усилие 5 кН, позволяет реализовать на одном гасителе при коэффициенте трения 0,4 суммарную силу трения 4 кН.

Характеристику фрикционного гасителя колебаний целесообразно определять по результатам исследований колебаний локомотивов. Однако при проектировании можно пользоваться приведенными ниже рекомендациями.

Фрикционные гасители колебаний с несимметричной характеристикой менее эффективны, чем с симметричной. Гасители с силой трения, пропорциональной прогибу подвешивания, практически эквивалентны гасителям постоянного трения. Упругие элементы упругофрикционного гасителя должны иметь жесткость Жу > 200Л/тр.

Суммарную силу трения Н всех фрикционных гасителей колебаний определяют из соотношения

Лтр = брЖ,

где бтр - расчетное значение «зоны трения подвешивания». 94

Существенный недостаток фрикционных гасителей колебаний - большие силы трения покоя, блокирующие рессорное подвешивание при возмущающей силе, меньшей силы трения гасителя, что мешает правильному распределению веса обрессо-ренного строения по колесам локомотива.

Гидравлические гасители колебаний. Принцип действия этих гасителей заключается в последовательном перемещении вязкой жидкости поршнем через узкие каналы (дроссельные отверстия), в результате чего происходит перевод механической энергии в тепловую с последующим ее рассеиванием.

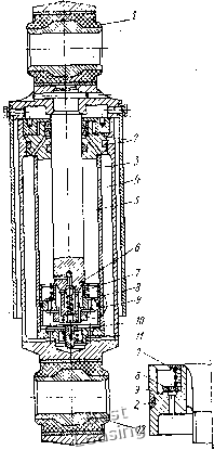
Гидравлический гаситель колебаний (рис. 62) буксовой ступени электровозов ЧС4 состоит из рабочего цилиндра 5, в котором перемещается поршень 9. Шток поршня связан с крышкой амортизатора. В диске поршня установлены клапаны 8 с дроссельными отверстиями. Кроме того, такие же клапаны 10 имеются



Рис. 61. фрикционный гаситель колебаний тепловоза 2ТЭ116:

/ - корпус; 2 - шток; 3 - поршень; 4 - резинометаллические прокладки; 5,7 - вкладыши; 6 - кожух; S - вкладыши; 9 - пружина

Рис. 62. Гидравлический гаситель колебаний:

1 и J2 - резиновые втулки; 2 - уплотнения; 3 - рабочий цилиндр; 4 - масляный резервуар; 5 - полость рабочего цилиндра 3: 6 - шариковый предохранительный клапан; 7 и -пружины; S и 10 клапаны; 9 - поршень



в днище рабочего цилиндра. Рабочий цилиндр 3 находится внутри масляного резервуара. Объемы под поршнем и над поршнем сообщаются через клапан 8. Объем под поршнем сообщается с масляным резервуаром через клапан 10. Клапаны 8 к 10 выполнены в виде кольцевых пластин с дроссельными отверстиями. Эти пластины прижаты к своим посадочным пояскам давлением пружин 7 я 11. Кроме того, для избежания слишком резкого повышения давления в штоке гасителя предусмотрен шариковый предохранительный клапан б, а в головках гасителя установлены резиновые втулки / и 12.

При увеличении расстояния между втулками 1 и 2 рабочего цилиндра 3 гасителя масло вытесняется под поршень через клапан 8 и создается значительное сопротивление перемещению поршня. При уменьшении расстояния между валиками масло из полости 5 перетекает через клапан 8 в пространство над поршнем и одновременно через клапан 10 в масляный резервуар 4. Сила сопротивления амортизатора при этом меньше, чем в первом случае.

Такая несимметричная характеристика гидравлических гасителей колебаний целесообразна тогда, когда их устанавливают в нижней (буксовой) ступени рессорного подвешивания. Объясняется это тем, что при движении по неровностям во время резкого подъема колеса на выпуклости на амортизатор действуют усилия большие, чем при проезде колесом впадины, так как эффективная глубина впадины, радиус кривизны которой меньше радиуса кривизны колеса, оказывается меньше ее фактической (геометрической) глубины.

Сила сопротивления, развиваемая гидравлическим гасителем,

/V,- = сА,

где А - скорость относительной деформации элементов гасителя; с -- коэффициент пропорциональности (параметр гасителя).

При проектировании потребная величина параметра гасителя может быть определена в зависимости от безразмерного параметра демпфирования D по выражению

с = 2D 1/" == (0,3 0,6) Ужт,

где ж - жесткость рессорного комплекта при вертикальных деформациях; т - масса, приходящаяся на демпфируемый комплект подвешивания.

Основные геометрические размеры элементов гасителя приближенно можно определить из выражения

с = mOvlP/ndH,

где V - динамическая вязкость. Па/с; F - площадь поршня гасителя, м; /-длина дроссельного отверстия, м; d-диаметр дроссельного отверстия, м; i - число дроссельных отверстий.

Для гидравлического гасителя колебаний Калининского вагоностроительного завода с = 90 120 И-с/мм. Для гасителя тепловоза ЧС4 при работе на растяжение с == 5,5 Н-с/мм, а при работе на сжатие с = 2,5 Н-с/мм, т. е. в 2,2 раза меньше.

Чаще всего гидравлические гасители колебаний устанавливают в верхней ступени подвешивания, их характеристика симметрична. В этих случаях гасители (при наклонной их установке) гасят колебания надрессорного строения как в вертикальной, так и в горизонтальной плоскости. Потребные значения параметров гашения колебаний в вертикальной Св и горизонтальной Сг плоскостях устанавливают по результатам анализа колебаний локомотива. Параметр гасителя колебаний с и угол р наклона его к горизонту определяют из зависимости с = Св/sin р = Cr/cos р.

Недостатком гидравлических гасителей колебаний является значительное изменение значения с при изменении температуры окружающей среды и утечках жидкости из гасителя. Кроме того, вследствие несжимаемости жидкости в рабочей полости гасителя при высокочастотных колебаниях (особенно интенсивных в буксовой ступени подвешивания) возникают значительные усилия, которые могут вывести гасители- из строя или резко уменьшить их долговечность. Поэтому гидравлические гасители колебаний преимущественно располагают в верхней ступени подвешивания.

§ 18. ОПОРНО-ВОЗВРАЩАЮЩИЕ УСТРОЙСТВА

Конструкции и характеристики опорных устройств локомотивов отличаются большим разнообразием. Кроме своего основного назначения - передавать вертикальную нагрузку от кузова на тележки, опоры выполняют и другие функции. Опоры должны давать возможность тележке поворачиваться вокруг вертикальной оси (шкворня) относительно кузова. При этом в зависимости от конструкции в опорах возникает момент фрикционного трения или момент упругих сил, препятствующий повороту тележки. В последнем случае опорные устройства называют опорно-воз-вращающими.

Наиболее простымипо конструкции являются плоские пятниковые опоры кузова, которые широко применяли на первых отечественных тележечных локомотивах. Пятниковая опора имеет вид шкворня большого диаметра (400-500 мм), плоская торцовая часть которого опирается на подпятник, установленный в раме тележки. В настоящее время пятниковые опоры используют главным образом на вагонах. Пятниковая опора создает небольшой момент недостаточный для гашения горизонтальных угловых колебаний (виляния) тележек локомотива. Кроме того, нагрузка на раму тележки передается в одной точке. Поэтому необходимо устанавливать подпятник на мощной шкворневой балке.

Опора скольжения. Кузов маневровых и промышленных тепловозов ТЭМ2, ТГМ4, ТУ5 опирается на тележку через четыре пло-

4 Камаев А. А. и др. 97



0 1 2 3 4 5 6 7 8 9 10 11 12 13 14 [ 15 ] 16 17 18 19 20 21 22 23 24 25 26 27 28 29 30 31 32 33 34 35 36 37 38 39 40 41 42 43 44 45 46 47 48 49 50 51 52 53 54 55 56 57 58