Промышленный лизинг Промышленный лизинг  Методички 

0 1 2 3 4 5 6 7 8 9 10 11 12 13 14 15 [ 16 ] 17 18 19 20 21 22 23 24 25 26 27 28 29 30 31 32 33 34 35 36 37 38 39 40 41 42 43 44 45 46 47 48 49 50 51 52 53 54 55 56 57 58


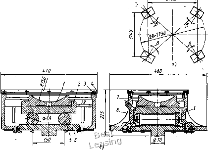
Рис. 63. Опора скольжения тепловоза ТГМ4:

/ - пята; 2 - уплотиительиое кольцо; 3 - прокладка; 4 - защитные листы; 5 - маслоуказатель; 6 - пробка; 7 - фиксатор; 8 - боковина рамы Тележки; 9 - опорная плита; 10 - штифт; --корпус опоры; 12 - прокладка текстолитовая; 13 - гнездо; 14 - амортизатор; 16 - регулировочная прокладка; 16 - кронштейн опоры; 17 - шайба; 18 - гайка

ские опоры скольжения, установленные на боковинах рамы тележки и одинаковом расстоянии от шкворня. Шкворень в этом случае воспринимает горизонтальные продольные и поперечные силы, действующие между кузовом и тележкой, не передавая вертикальную нагрузку на тележку.

Опора скольжения тепловоза ТГМ4 (рис. 63) имеет сферическую пяту /, установленную вместе с резиновым амортизатором 14 в раме кузова. Пята опирается на сферическое гнездо IS, которое передает нагрузку на опорную плиту 9, установленную в литом корпусе . Пяту, гнездо и опорную плиту изготовляют из стали 45, поверхности трения их подвергают закалке до твердости HRC 50. При перемещении тележки относительно рамы тепловоза -происходит скольжение текстолитовой прокладки 12, вставленной в гнездо, по опорной плите. Полость корпуса опоры заправлена осевым маслом ГОСТ 610-72. Для улучшения смазывания трущаяся поверхность плиты разбита канавками на небольшие квадраты.

У тепловоза ТЭМ2 сферическое гнездо скользит по опорной плите, поверхность которой армирована антифрикционным материалом, например бронзой или сплавом ЦАМ 9-1,5 ГОСТ 21437-75.

Опоры скольжения допускают давление на поверхности трения до 20 МПа и скорость скольжения до 7 м/с.

На некоторых зарубежных и отечественных локомотивах, например на электровозах ВЛ80", ВЛЮ, ЧС4, применяют опоры скольжения, на которые кузов опирается через пружины рессор-

Рис. 64. Роликовые опоры главных рам теп- ловозов:

а - схема размещения (ТЭЗ, 2ТЭ10Л); б - роликовая опора (2ТЭ10Л); / - гнездо; 2 - опорная верхняя плита; 3 - прокладка; 4 - крышка; 5 - ролйк; 6 - опорная нижняя плита; 7 - корпус; " - обойма; / - плоскость трения


ного подвешивания. Кузов может перемещаться на опорах в поперечном направлении относительно тележки, при этом шкворень сжимает пружины возвращающего устройства, установленного в раме тележки и препятствующего этому перемещению.

Роликовое опорно-возвращающее устройство. Тепловозы ТЭЗ, 2ТЭ10Л имеют шкворень, который передает продольные и поперечные горизонтальные силы и позволяет тележке поворачиваться относительно кузова на 3-4°. Нагрузка от кузова передается на четыре роликовые опоры (рис. 64, а), которые размещены на боковинах рамы тележки. Каждая опора повернута на угол р относительно радиуса, соединяющего центр поворота тележки и центр опоры. Такой поворот позволяет создать момент трения, необходимый для гашения горизонтальных угловых колебаний тележек (виляния).

Роликовая опора главной рамы (рис. 64, б) передает нагрузку на гнездо /, в свою очередь нагружающее верхнюю onopnyip плиту 2, опирающуюся через ролики 5 на нижнюю плиту б.. Расстояние между роликами зафиксировано обоймами 8. Весь механизм опоры расположен в корпусе?, заполненном осевым маслом. Сверху на корпусе опоры при помощи крышки 4 закрепляют брезентовый чехол, защищающий внутреннюю полость опоры от влаги и пыли.

Поверхности качения плит выполнены наклонными; угол наклона а составляет 2°-3° 30 в зависимости от типа тепловоза. На прямом участке пути ролики занимают среднее положение между

4* 99




Рис. 65. Схема работы опорно-возвра-щающего устройства

наклонными плоскостями (рис. 65, а); при повороте тележки относительно кузова ролики накатываются на наклонные поверхности опор (рис. 65, б). При этом возникают горизонтальные силы, создающие на радиусе опор R возвращающий момент Мв = Л/т а. где N-f - суммарная нагрузка на все четыре опоры тележки.

Кроме возвращающих сил, при повороте тележек в опоре возникают силы трения и моменты сил трения. Как возвращающий момент, так и момент трения опор способствует уменьшению колебаний виляния тележек.

Тепловоз 2ТЭ10Л имеет следующие характеристики опорно-возвращающих устройств: угол наклона плоскостей опорных плит а = 2°, угол поворота опор Р = 5°, возвращающий момент Мв = 17,95 кН-м и момент трения Мр = 13,8 кН-м.

На поверхности качения роликов и опорных плит возникают высокие контактные напряжения, поэтому ролики изготовляют из стали 40Х и подвергают поверхностной закалке до твердости HRC 54-60. Опорные плиты предварительно цементируют, затем поверхность закаливают до HRC < 56. Гнездо опоры выполняют из стали 45, цилиндрический поясок гнезда закаливают токами высокой частоты до HRC < 50. Для повышения износостойкости и упрощения ремонта поверхности трения по плоскости гнезда I (см. рис. 64) к корпусу приваривают пластинки из стали 65Г.

На тепловозах ТЭ109, ТЭ116, 2ТЭ10В применена упругая поперечная связь кузова с тележками. У этих тепловозов четыре роликовые опоры на тележке расположены так, чтобы направление качения роликов было перпендикулярно продольной оси кузова. Профиль поверхностей качения верхней и нижней плиты опоры выполнен, одним радиусом. На верхней плите сверху имеется скользун, который перемещается по опорной поверхности на кузове при повороте тележки. Возникающий при этом момент трения способствует уменьшению виляния тележек. В качестве пары трения приняты сталь 65Г и пластмасса или металлокерамика, имеющие низкий коэффициент трения (0,06-0,08). Смазка поверхностей консистентная.

Шкворневый узел аналогичен по конструкции такому же узлу электровоза BJlSO", только пружины возвращающего устройства шкворня включаются в работу после 20 мм перемещения кузова на роликах. Максимальное поперечное перемещение кузова 100

40 мм. Характеристика поперечной связи кузова с тележками имеет нелинейный вид (рис. 66). На основании этой характеристики могут быть определены основные конструктивные параметры устройства.

Возвращающая сила упругой связи кузова с тележками складывается из возвращающей силы роликовых опор Уо и упругого шкворня Ущ, т. е. Ут = Уо + Уш-

При перемещении кузова на величину у

У о = ЖэУ = Nry/l (2/? ~ dy - у\

где Жэ - эквивалентная жесткость роликовых опор; R - радиус опоры; d - диаметр ролика.

Параметры роликовых опор должны обеспечивать парциальную частоту V поперечных колебаний относа кузова не более 1 Гц. Эта частота может быть определена по формуле

(18)

Y 2<R-r)

где g = 9,81 м/с - ускорение свободного падения; 2 {R - г) = = Lg - длина эквивалентного маятника, м.

Для тепловоза ТЭ109 R = 275 мм, г = 30 мм и = 400 мм. Частота собственных колебаний, рассчитанная по формуле (18), равна 0,71 Гц. Эквивалентная жесткость роликовых опор, отнесенная к одной тележке, ж = 7,56-10 Н/м.

Возвращающая сила, создаваемая пружинами шкворневого узла тележки, У = Жшу/2, тогда суммарная возвращающая сила, действующая на тележку.

Ут2=ЛГфУК(2Р - d)2 - -Ь ж/2.

Возвращающая сила при максимальном отклонении кузова по рекомендации ВНИТИ должна быть У = (0,2-5-0,25) N. Колебания виляния тележек тепловоза ТЭ109 гасятся моментом трения Мтр = 45-5-69 кНм в опорах, зависящим от угла поворота тележки. Меньшая цифра соответствует углам поворота тележки Ф 20, большая ф > Г. При поперечных колебаниях кузова

Рис, 66. Схема перемещения кузова относительно рамы на опорал и характеристика поперечной связи кузова с тележками

у




Рис. 67. Маятниковое опорно-возвращающее устройство тепловоза ТЭП60: а - поперечный разрез центральной маятниковой и боковой опор; 6 - схема действия сил на центральную опору; / - опорный конус тележки; 2 - амортизатор; 3 - стойка; 4 - возвращающий аппарат; 5 - боковая опора; / - поверхность трения

относительно рамы тележек необходимое трение создается в опорах по торцам роликов и в шкворне.

Опорно-возвращающие устройства с маятниковыми опорами.

Нагрузка от кузова на раму тележки у тепловоза ТЭП60 и электровоза ВЛбО передается двумя центральными маятниковыми опорами и четырьмя боковыми. На каждую маятниковую опору тепловоза ТЭП60 (рис. 67, а) передается нагрузка 95,6 кН, а на боковую 47,5 кН. Опоры допускают относительное поперечное перемещение тележки и кузова до 80 мм. При поперечном перемещении и повороте тележек маятниковые опоры наклоняются. Устойчивость этих опор обеспечивается специальными возвращающими аппаратами 4. Корпуса возвращающих аппаратов ушками соединены со стойкой 3 маятниковой опоры и специальным кронштейном кузова. Пружина возвращающего аппарата установлена в корпусе с предварительным натягом 15 кН. Максимальный прогиб пружины возвращающего аппарата равен 50 мм.

Стойка опоры при поперечных отклонениях скользит между двумя направляющими, установленными в поперечной балке тележки. Как в стойке, так и в направляющих имеются специальные камни из закаленной стали 45, через которые передаются тяговые и тормозные силы.

Определим величину возвращающего усилия маятниковой опоры при отклонении кузова на величину у (рис. 67, б). При наклоне маятника обе пружины работают одновременно, поэтому их суммарное усилие Упр = 2 (Упр + жу/2), где Ур - предварительный натяг пружины; ж - жесткость пружины. Одновременно от нагрузки кузова на маятник действует опрокидызаю-щий момент Ny. 102

Обозначим воздействие тележки на маятник, а следовательно, и на кузов через У„ и составим уравнение моментов сил, действующих на маятник относительно опоры А, в предположении, что пружинный механизм укреплен посередине маятника:

У„/cos а - 2 (Упр + ) / cos а / 2-1-Л?г/= 0.

Откуда возвращающая сила

Ум = <пр + жу/2 - Nyl{l cos а).

Учитывая, что угол наклона маятника при движении по кривым небольшой, можно принять cos а = 1. Тогда

У==К-\-жу12-Ку11.

Боковые опоры воспринимают нагрузку от половины веса кузова. Они стабилизируют положение кузова при наклоне в кривых, демпфируют колебания виляния вследствие трения по поверхности / боковой опоры 5 (рис. 67, а). Скользун кузова, опираю- щийся на стакан, изготовляют из стали 50Г и термообрабатывают до твердости HRC 45-50. Стакан боковой опоры выполнен из стали 40, поверхность скольжения его имеет твердость HRC 35-40. При коэффициенте трения fxp = 0,15 (неблагоприятные условия смазки) опоры создают момент трения М,,р = = 52,5 кН-м и силу трения f,,p = 28,5 кН.

Люлечная подвеска кузова принадлежит к одной из распространенных конструкций, применяемых на пассажирских вагонах, электроподвижном составе и в некоторых случаях на локомотивах. В отечественном локомотивостроении люлечное подвешивание было применено на газотурбовозе ГП1 Коломенского тепловозостроительного завода.

По типичной люлечной схеме выполнено, например, подвешивание кузова английского тепловоза «Кестрел» (рнс. 68, а). Кузов через шкворневую пятниковую опору 2 передает- нагрузку на надрессорную балку которая опирается через четыре винтовые пружины 3, закрепленные на подрессорной балке 8. Параллельно пружинам установлены гидравлические гасители 7 вертикальных колебаний. Подрессорная балка через четыре люлечные подвески 6 длиной 800 мм, расположенные под углом 10°, связана с рамой 4 тележки. Свободный ход люльки ±25 мм. Затем параллельно включаются в работу мягкие резиновые упоры 5, максимальная деформация которых составляет 70 мм.

Определим возвращающую силу, создаваемую при отклонении люльки на величину у от среднего положения АСОВ в положение ACDB (рис. 68, б). Концы С и D люлечных подвесок при отклонении описывают дуги радиусом, равным длине L подвески. При этом новое положение шарнира С выше, а шарнира D ниже первоначального, вследствие чего надрессорный брус СОока-зывается наклоненным на небольшой угол ip.

Обозначим горизонтальную проекцию подвесок в среднем положении через d, нагрузку на шарниры С и D через N/2. Тогда, разложив силу NJ2 на силы Si и Sj, направленные вдоль подве-



0 1 2 3 4 5 6 7 8 9 10 11 12 13 14 15 [ 16 ] 17 18 19 20 21 22 23 24 25 26 27 28 29 30 31 32 33 34 35 36 37 38 39 40 41 42 43 44 45 46 47 48 49 50 51 52 53 54 55 56 57 58
https://veran-lash.ru как сделать наращивание ресниц.