Промышленный лизинг Промышленный лизинг  Методички 

0 1 2 3 4 5 6 7 8 9 10 11 12 13 14 15 16 [ 17 ] 18 19 20 21 22 23 24 25 26 27 28 29 30 31 32 33 34 35 36 37 38 39 40 41 42 43 44 45 46 47 48 49 50 51 52 53 54 55 56 57 58


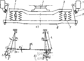
Рис. 68. Люлечное возвращающее устройство тепловоза «Кест-рел»

а - конструкция люльки; б - схема действия сил при отклонении люльки; / - иадрессорная балка;

2 - шкворневый пятниковый узел;

3 - винтовая пружина; 4 - рама тележки; 5 - упор; 6 - подвеска; 7 - гидравлический гаситель; 8 -

подрессорная балка

СОК, а горизонтальные силы и У, найдем возвращающее усилие люльки

Ул = Ух + У2 = NAiga, - tga2)/2 =

= NJ2 [(d -Ь y)/yL~(a + yf -id- y)l\/L-{d-yf\. (19)

Из формулы (19) следует, что с увеличением d одному и тому же отклонению люльки будет соответствовать большая величина возвращающей силы Ул-

При первоначальном вертикальном расположении подвесок {d = 0) формула (19) имеет вид

Ул == Ух + Уг = Лт (tg «1 + tg а)12 = N,yli/L - у\

Обычно L у (длина подвесок колеблется от 400 до 1000 мм, а поперечное отклонение люльки - от 40 до 60 мм) и для случая вертикальных подвесок возвращающая сила Ул = NylL, т. е. зависимость возвращающей силы от отклонения люльки линейная.

Люлечное подвешивание кузова, являясь более совершенным устройством, позволяющим управлять динамическими качествами локомотива, имеет существенные недостатки: сложность конструкции, большие габаритные размеры, значительный износ шарнирных соединений и др.

Опора кузова на пружины, работающие на сдвиг. Винтовые цилиндрические пружины рессорного подвешивания локомотива обычно подвергаются действию переменных сил, направленных по оси пружины. Однако, если опорные витки такой пружины сдвигать в горизонтальной плоскости, то пружина будет препятствовать этому сдвигу, т. е. создавать возвращающую силу. 104


Рис. 69. Схема опорно-возвращающего устройства тепловоза ТЭП75:

/ - пружина; 2 - рама кузова; 3 - гидравлический гаситель горизонтальных колебаний; 4 - направляющие стаканы; 5 - гидравлический гаситель вертикальных колебаний; 6 - ограничитель; 7 - рама тележки; 8 - возвращающее устройство шкворня; 9 - шкворень

Таким образом, пружины рессорного подвешивания (второй ступени) одновременно могут выполнять функции опорно-возвращающего устройства, как на тепловозах ТЭП70 и ТЭП75.

Примером конструкции такого подвешивания может служить опорно-возвращающее устройство тепловоза ТЭП75 (рис. 69), в котором рама 2 кузова передает нагрузку на четыре комплекта пружин установленных посередине боковин тележек в специальных нишах рамы. Каждый комплект состоит из четырех пружин, изготовленных из стали 60С2ХА. Пружины имеют девять рабочих витков и обеспечивают статический прогиб 120 мм второй ступени рессорного подвешивания. Для улучшения условий работы пружины при поперечном, сдвиге ее опорные витки опираются на направляющие стаканы. Шкворень 9 опущен вниз таким образом, чтобы передавать силу тяги на уровне осей колесных пар.

При поперечном смещении кузова сначала действуют только возвращающие силы, создаваемые пружинами а затем подключается и пружина возвращающего устройства 8 шкворня. Таким образом, достигается требуемая нелинейная характеристика упругой поперечной связи (см. рис. 66), вид которой примерно такой же, как и для роликовых возвращающих устройств тепловоза ТЭ109.

Зазор между обоймой шкворня и толкателем возвращающего устройства шкворня 30 мм, общий ход кузова до упора в ограничитель 5-60 мм (см. рис. 69). Гашение горизонтальных и вертикальных колебаний кузова и тележек осуществляется раздельно при помощи гидравлических гасителей 5 и 5 (два горизонтальных и четыре вертикальных на тележку). При повороте тележек возникает возвращающий момент, создаваемый пружинами.



На рис. 69 видно, что пружины / работают в сложном напряженном состоянии, сдвиг верхних опорных витков относительно нижних может достигать 120 мм и более. Поэтому к материалу пружин, технологии их изготовления и контролю предъявляются повышенные требования.

§ 19. ТОРМОЗНЫЕ УСТРОЙСТВА

Тормозные средства локомотивов - это комплекс устройств для создания регулируемых тормозных сил. Тормозное оборудование размещают в кузове и на тележке локомотивов. На тележке устанавливают тормозные цилиндры, рычажную передачу и трубопровод питания тормозных цилиндров, остальное оборудование - в кузове локомотива. Число тормозных цилиндров на локомотиве зависит от принятой схемы рычажной передачи и может быть от 4 до 16. Работа пневматических тормозов основана на использовании в тормозном цилиндре энергии сжатого воздуха.

Тормозная рычажная передача служит для равномерного распределения усилия между тормозными колодками и передачи его от поршня тормозного цилиндра на колеса локомЪтива. Тормозные передачи по принципу действия бывают с односторонним и двусторонним нажатием тормозных колодок на колеса локомотива. При одностороннем нажатии обеспечивается тормозное усилие с одной стороны колеса, при двустороннем - с двух сторон. Каждой из схем свойственны преимущества и недостатки.

Односторонние рычажные передачи сравнительно просты по конструкции, обладают небольшой массой, удобны в эксплуатации и ремонте, но при торможении ось колесной пары воспринимает дополнительный крутящий момент от одностороннего действия тормозных колодок. Большое давление на чугунных тормозных колодках снижает коэффициент трения между колодкой и колесом, а следовательно, и тормозную силу локомотива, вызывая значительный износ колодок и нагрев бандажей. Односторонние передачи применяют на локомотивах ВЛ8, ВЛ23, ВЛ61, ТГМЗ,ТЭЮ и др.

На тележке электровоза (рис!. 70) имеются два тормозных цилиндра / диаметром 10", штоки которых соединены с рычагами 2. Нижние концы рычагов 2 соединены с тягами 3. Балансиры 4 шарнирно связаны с подвесками 5 и башмаком 6, передающим тормозные усилия на колеса через подвески, шарнирно соединенные с башмаками и тормозными колодками 7.

Двусторонние рычажные передачи гораздо сложнее по конструкции и имеют большую массу, в эксплуатации и ремонте затрудняют осмотр экипажной части локомотива, но обеспечивают лучшие фрикционные качества вследствие повышения коэффициента трения между чугунной колодкой и колесом, а также больший срок службы колодок. Двустороннее расположение колодок применяют на локомотивах ЧС4, ЧМЭ2, ВЛ80, ВЛ82, ТЭП70, 106


Рис. 70. Схема рычажной тормозной передачи рдной стороны тележки

электровоза ВЛ8: ; - тормозной цилиндр; 2 - рычаг; 3, S и 9 - тягн; 5 - подвеска; 6 - башмак; 7 - колодка; А - точка приложения усилия


Рис. 71. Схема рычажной передачи тепловоза 2ТЭ116

2ТЭ116 И др. (рис. 71). Функции элементов рычажной передачи аналогичны функциям односторонней передачи.

Рычажные передачи должны изменять передаточные отношения в зависимости от материала и типа тормозных колодок. В конструкциях вертикальных (или горизонтальных) рычагов предусмотрены отверстия для валиков, положение которых обусловливает изменение коэффициента нажатия колодок. Так, например, на тепловозе ТЭП60 передаточные отношения при композиционных и чугунных колодках соответственно равны 2,38 и 5,77, а действительные коэффициенты нажатия 0,6 и 0,3.

Рычажные передачи должны иметь достаточную жесткость в поперечной плоскости для возможности применения безгребневых секционных тормозных колодок (тепловоз ТЭМ2).

Рычажная передача тормоза должна обеспечить возможность регулирования зазоров между бандажами и тормозными колодками и применения автоматических устройств сил нажатия и про-тивоюзных устройств. При проектировании большое внимание уделяется уменьшению массы тормозной системы и числа шарнирных соединений. Широко распространены тормозные системы, в которых каждое колесо обслуживается одним тормозным цилиндром (тепловоз 2ТЭ116) с малым передаточным отношением и конструкция рычажных передач колодочного тормоза максимально упрощена.

Расчет допускаемой силы нажатия тормозных колодок (накладок). Обеспечение наибольшей тормозной эффективности проектируемых тормозных передач при эксплуатации подвижного состава - важнейшая задача безаварийного движения на транспорте. Для выполнения этих условий тормозная сила колесных пар не должна превышать максимально возможную силу сцепления колес с рельсами, т. е. допускаемая сила нажатия (кН)



Зкачеиие коэффициентов иажатий а тормозных колодок

Таблица 6

Тормоз

Локо грузовой

мотив

пассажирский

Удельная нагрузка, мН/м

Колодочный чугунный Колодочный композиционный

Дисковый композиционный

• в числителе дана > движения до 180 км/ч. в

0,38-0,25

0,28-0,2

0,32-0,37

дельная нагру знаменателе -

0,6-0,7 0,27-0,3 0,37-0,4 0,28

зка на тормозн при скоростях

0,7-0,8

0,3-0,35 0,37-0,4 0,3

ую колодку пр , превышающи

1,2/1,2 *

0,6/0,5 0,5/0,4

и скоростях X 180 км/ч.

колодок на колесо или накладку, на тормозной барабан дискового тормоза

где а - коэффициент, учитывающий разгрузку колесной пары от действия вертикальных сил и сил инерции при торможении, для ориентировочных расчетов равен 0,9; 2П - нагрузка от колесной пары на рельсы; -ф - коэффициент сцепления колес с рельсом; Фк - коэффициент трения тормозной колодки (накладки); - радиус колеса; г - расчетный радиус тормозного диска.

Для колодочного тормоза отношение RJr = 1. При ориентировочных расчетах, по рекомендациям ЦНИИ МПС, можно принимать \3к = 0,09-=-0,1.

Для упрощения расчетов допускаемой силы нажатия принимают, что коэффициент нажатия на тормозные колодки б = = 2]/С/2Я. Это вызвано тем, что коэффициент фк, входящий в формулу для определения допускаемой силы нажатия, зависит от силы нажатия К.

На основании результатов исследований и опыта эксплуатации ЦНИИ МПС и ВНИТИ рекомендуют использовать в расчетах коэффициенты нажатий тормозных колодок (накладок), приведенные в табл. 6.

При определении удельных нагрузок на тормозные колодки (накладки) исходят из наибольшей силы нажатия, числа и размеров тормозных колодок (накладок). По окончательно выбранной силе нажатия тормозных колодок (накладок) проводят тормозные расчеты и расчеты по нахождению теплового режима фрикционных пар колесо - колодка и тормозной диск-накладка. После выбора схемы рычажной передачи рекомендуется рассчитать диаметр тормозного цилиндра и передаточное число тормозной рычажной передачи.

Передаточное число рычажной передачи, как отношение произведения длин ведущих плеч рычагов к ведомым с учетом схемы ее, определяют из формулы

где Лшт - усилие по штоку тормозного цилиндра; и - передаточное число рычажной передачи; rip - КПД рычажной передачи.

На основании экспериментальных данных в зависимости от схемы рычажной передачи рекомендуется принимать Т1р.п = 0,9 для двухосных тележек, Лр.п = 0,85 для трехосных тележек, Т1р„ = 0,5 для тормоза с ручным приводом. Передаточное число (схема рычажной передачи) и усилие по штоку тормозного цилиндра (число тормозных цилиндров и их диаметр) выбирают с учетом их взаимосвязи следующим образом.

Передаточное число тормозной передачи вновь проектируемых локомотивов должно быть минимально возможным и не превышать 10. Это позволит обеспечить достаточно хорошее регулирование зазоров между тормозной колодкой и колесом в процессе эксплуатации подвижного состава. Зазор должен быть 6-20 мм, а ход поршня тормозных цилиндров 50-150 мм. При сравнительно большом передаточном числе рычажной передачи затрудняется ее регулировка и отвод колодки от колеса в отпускном режиме, хотя при этом и имеется возможность применить тормозной цилиндр малого диаметра. В последнее время в отечественной и зарубежной практике наблюдается тенденция к применению рычажных передач с тормозным цилиндром на каждое колесо.

Задавшись передаточным числом и в рекомендуемых пределах, определяют усилия по штоку тормозного цилиндра

где рц - давление в тормозном цилиндре; с/ц - диаметр тормозного цилиндра; тц - коэффициент потерь в тормозном цилиндре,

равный 0,98-0,97; - суммарное усилие, состоящее из уси-

ЛИЙ наружной и внутренней отпускных пружин тормозного цилиндра при торможении и усилия пружины автоматического регулятора. Диаметр тормозного цилиндра

ц=1,12]/

3 \ +11 N

Полученное значение диаметра тормозного цилиндра округляют до ближайшего стандартного и далее, варьируя двумя величинами и и конструктивно оформляют схему рычажной передачи тормоза локомотива, подбирают плечи рычагов тормозной передачи, при которых реализуются найденные диаметр тормозного ци-



0 1 2 3 4 5 6 7 8 9 10 11 12 13 14 15 16 [ 17 ] 18 19 20 21 22 23 24 25 26 27 28 29 30 31 32 33 34 35 36 37 38 39 40 41 42 43 44 45 46 47 48 49 50 51 52 53 54 55 56 57 58