Промышленный лизинг Промышленный лизинг  Методички 

0 1 2 3 4 5 6 7 8 9 10 11 12 13 14 15 16 17 18 19 20 21 22 23 24 25 26 [ 27 ] 28 29 30 31 32 33 34 35 36 37 38 39 40 41 42 43 44 45 46 47 48 49 50 51 52 53 54 55 56 57 58

возах ТГМЗ и ТГМ4 двух баков для топлива недостаточно, поэтому дополнительно установлен под кабиной машиниста третий.

Существующие конструкции баков можно разделить на два типа: включенные в силовую схему рамы и кузова и не включенные в нее. Известны конструкции тепловозов, в которых топливными баками служат емкости в хребтовых балках замкнутого профиля. Недостаток конструкций баков первого типа - ослабление их герметичности в процессе эксплуатации. Баки второго типа подвешивают на болтах к кронштейнам главной рамы локомотива, и они не испытывают никаких нагрузок, кроме веса топлива.

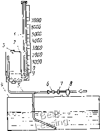
Бак тепловоза ТЭМ2 (рис. 110) подвешен между тележками к* раме тепловоза при помощи поперечных кронштейнов 4. Корпус его состоит из боковых, верхних, нижнего и торцовых листов тол- щиной 4 мм, соединенных сваркой с двумя вертикальными несущими листами. Для обеспечения жесткости бака и предотвращения вспенивания топлива служат продольные и поперечные перегородки. Внутренняя поверхность бака фосфатирована для предохранения от коррозии. От поперечного перемещения бак дополнительно удерживается двумя кронштейнами 5.

На верхнем листе бака с левой и правой стороны расположены заправочные горловины 2 (тепловоз должен заправляться с любой стороны), внутри которых установлены металлические фильтрующие сетки. Горловины плотно закрыты резьбовыми крышками. Через вентиляционные трубы 3 при заполнении бака топливом воздух удаляется, а при сливе - поступает. Внутри вентиляционной трубы установлены перегородки, препятствующие выбрасыванию топлива. Длина ее определена конструктивно (из условия непопадания топлива на бак), а диаметр - из условия свободного выхода воздуха из бака при закачке в него топлива насосом, подача которого до 400 л/мин. При этом избыточное давление в баке не должно превышать 0,01 МПа.

Бак снабжен отстойником 7, в котором оседают различные примеси и вода, выпадающие из топлива. Для сбора загрязненного топлива внутри баков мощных тепловозов имеется бачок, из которого при его переполнении топливо сливается в отстойник. Для спуска примесей внизу или сбоку отстойника размещают клапан, что позволяет отвинчивать сливную пробку без лишних потерь топлива.

Уровень топлива бака замеряют мерной рейкой 6. Для изоляции бака от попадания внутрь пыли направляющие для мерной рейки снабжены пружинными крышками. На верхних баках устанавливают прозрачные указатели из небьющегося стекла. Они имеются и на нижних баках тепловозов последних конструкций. На тепловозах 2ТЭ116 и ТЭП70 около дизеля установлены дистанционные топливоуказатели, которые позволяют контролировать уровень топлива, не выходя из локомотива.

Дистанционный указатель уровня топлива в баке тепловоза ТЭП70 (рис. Ill) работает следующим образом. При открытии 164


Рис. 111. Принципиальная схема работы дистанционного указателя уровня топлива в баке:

/ - указатель уровня топлива; 2 - бачок топливомера; 3 - пробка; 4 - топливный бак; 5 - воздушный трубопровод; 5 - кран; 7 - дроссельная задвижка; S - клапан максимального давления

Крана 6 из тормозной магистрали через клапан 5 максимального давления, дроссель 7 и трубопровод 5 воздух попадает под давлением 0,14 МПа в бачок 2 топливомера. Одновременно воздух поступает в топливный бак и из незаполненного топливом пространства уходит в атмосферу. Возникшее при этом в трубопроводах и бачке топливомера давление воздуха равно статическому давлению столба топлива в топливном баке. Это давление, воздействуя на поверхность топлива в бачке 2 топливомера, вытесняет топливо в стеклянную трубку указателя / уровня. Уровень в трубке указателя при этом повышается. Шкала, нанесенная на стеклянной трубке, соответствует уровню топлива в баке 4.

Для удобства промывки бака в каждой его секции и внизу предусмотрены люки, закрываемые пробками на мелкой резьбе. На тепловозах ТЭМ5 и ТЭМ6, а также газотурбовозах вместо пробок для удобства промывки бака предусмотрены широкие люки, закрываемые крышками.

Топливоподкачивающие насосы. Эти насосы предназначены для подачи топлива из бака к топливному насосу высокого давления. При этом преодолевается сопротивление трубопроводов и фильтров, а также рдзница между уровнями топлива в баке и подводящей полости топливного насоса.

Расход в топливопроводе сравнительно невелик. Поэтому наибольшее распространение в качестве топливоподкачивающих агрегатов получили объемные насосы - роторные (шестеренные и коловратные). Для большинства магистральных и маневровых локомотивов подача топливоподкачивающих насосов составляет 1,62 м/ч, для грузовых тепловозов последних выпусков (ТЭ109 и ТЭИ6) - 1,8 м/ч. На локомотивах мощностью свыше 370 кВт чаще всего применяют шестеренные топливоподкачивающие насосы с внутренним (рис. 112) зацеплением. Они отличаются простотой конструкции, малыми габаритными размерами, небольшой массой, а также высокой надежностью в работе.

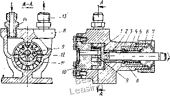
Шестеренный насос тепловозов ТЭЗ, ТЭМ2, ТГМЗ, 2ТЭ10В состоит (см. рис. .112) из корпуса 3, ведущей шестерни /, ведомой




Рис. 112. Шестеренчатый топливоподкачивающий насос;

/ - ведущая шестерня; 2, 6 - втулки; 3 - ведущий валик; 4 - силь-фон; 5 - пружина; 7 - накидная гайка; 8 - корпус; 9 - ведомая шестерня; 10 ~ крышка; - серповидный выступ крышки 10; 12 - ось; 13, 14 - щтуцеры

шестерни Р, крышки 10 насоса с серповидным выступом и оси 12. Ведущая шестерня / состоит из шестерни с внутренним зацеплением и вала, изготовленных из одной заготовки.

Шестеренные топливоподкачивающие насосы с внешним зацеплением применяют на отечественных газотурбовозах. Насос еоздаег давление в пределах 0,2-0,3 МПа,

Коловратные топливоподкачивающие насосы используют на дизелях малой мощности до 370 кВт (тепловозы ТГМ1, ТГМ23, ТУ2 ТУ7 (рис. 113). Они обладают сравнительно небольшой высотой всасывания (до 0,5 м), поэтому их необходимо устанавливать как можно ближе к топливному баку. Кроме того, для них характерен повышенный износ деталей качающего узла.

Подача, и1ч, топливоподкачива-ющего насоса

Он = фоёРш)!9., (24)

где Рп,ах - максимальная мощность силовой установки, Вт; - коэффициент избытка расхода прокачиваемой жидкости.

Для компенсации уменьшения подачи насоса в процессе изнашивания, а также для обеспечения эффективного подогрева топлива в холодное время Рис. 113. Коловратный на- ОДа k, принимают равным 2-3.

сое: По значению подачи выбирают бли-

лопас?"/= ро;орГ?-с?еГ- ИЗ стандартных насосов. При

жень выборе существенную роль играет уни-


фикация насоса проектируемого локомотива с находящимися в эксплуатации. Мощность, кВт, затрачиваемая на привод насоса,

P„ = G„AP,/(3,6ti„), (25)

где АРт - перепад давления в топливнойс истеме, МПа; - КПД насоса; для нагнетающих насосов - 0,7-f-0,85; для откачивающих насосов, работающих на вспененных, с большим содержанием воздуха жидкостях, т,; = 0,2-=-0,3.

В зависимости от мощности и типа силовой установки мощность, затрачиваемая на привод топливоподкачивающего насоса локомотива, составляет 0,1-2 кВт. На большинстве локомотивов привод топливоподкачивающего насоса индивидуальный электрический. При этом на привод насоса независимо от значения угловой скорости коленчатого вала дизеля или ротора турбины затрачивается номинальная мощность.

На тепловозах ТЭ109, ТЭМ5, ТГМ5, ТУ2, ТУ6, ТУ7 привод топливного насоса осуществляется непосредственно от энергетической установки. Это приводит к снижению подачи насоса при угловой скорости коленчатого вала дизеля (ротора, турбины), а следовательно, к увеличению его экономичности. Однако при пуске энергетической установки для прокачки топлива в систему необходимо устанавливать дополнительные подкачивающие насосы с электрическим или ручным приводом.

Фильтры для очистки топлива от механических примесей. Общая засоренность дизельного топлива механическими примесями в среднем составляет 100-150 г на тонну. Для очистки топлива от механических частиц в топливной системе устанавливают фильтры. В соответствии с назначением их разделяют на фильтры предварительной, грубой и тонкой очистки.

Фильтры предварительной очистки, располагаемые в горловинах топливных баков, задерживают лишь очень крупные частицы. Их назначение - исключить возможность попадания крупных механических примесей в бак при заправке его топливом.

Фильтры грубой очистки должны задерживать частицы размером 0,1-0,2 мм, фильтры тонкой очистки - более 0,005 мм.

Все топливные фильтры (рис. 114), применяемые на локомотивах, состоят из трех частей: корпуса, крышки и фильтрующего элемента. Фильтрующие элементы должны отвечать следующим требованиям: при небольшом гидравлическом сопротивлении быть компактными, простыми по конструкции, долговечными и несложными при обслуживании.

Фильтрующие элементы грубой очистки могут быть сетчатые, сетчато-набивные, проволочно-щелевые и пластинчатые.

Фильтрующий элемент (см. .рис. 114) сетчатого фильтра грубой очистки тепловоза ТГ102 состоит из двух вставленных одна в другую металлических сеток 9 и И, закрытых сверху и снизу крышками 8 и 13. Топливо засасывается в фильтрующий элемент со стороны наружной сетки и проходит через отверстия 10 в стер-




Рис. 114. Фильтр грубой очистки топлива с сетчатым фильтрующим элементом;

/ - корпус; 2 - крышка; 3 - рукоятка; 4 - трехходовой кран; 5 - полость очищенного топлива; 6 - полость загрязненного топлива; 7 - уплотнение; 8 - верхняя крышка; 9 - наружная сетка; 10 - отверстие в стержне; Л - внутренняя сетка; /2 - полый стержень; 13 - нижняя крышка; 14 - поджимная пружина


Рис. 115.Бумажный )иль-трующий элемент фильтра тонкой очистки:

/ - торцовая крышка; 2 - внутренняя перфорированная обечайка; 5 - фильтрующая перегородка; 4 - наружная перфорированная обечайка

жне 12, ПОЛОСТЬ 5 и кран 4 во всасывающий патрубок топливоподкачивающего насоса.

Сетчатые фильтры имеют недостаточную степень фильтрации. Для ее повышения полость между металлическими сетками заполняют хлопчатобумажной пряжей (путанкой). Такие фильтры называются сетчато-набивными. Их применяют на тепловозах ТЭЗ и первых выпусков тепловозов ТЭМ1, ТЭМ2, ТЭП60. Недостатком сетчато-набивных фильтров является повышенное гидравлическое сопротивление.

На тепловозах ТЭ40, ТЭМ2, 2ТЭ10В, а также на ряде мотовозов и автодрезин используют проволочно-щелевые фильтры. Рабочий элемент фильтра представляет собой гофрированный каркас цилиндрической формы, на которой плотно намотана обжатая латунная проволока. Зазоры между витками и являются собственно фильтрами. На дизельном поезде Д1 проволочно-щелевой фильтр используют как фильтр тонкой очистки. Главным недостатком проволочно-щелевых фильтров является сложность при очистке.

Пластинчатые фильтры трудоемки в изготовлении, имеют сравнительно небольшую поверхность фильтрации, поэтому не получили широкого распространения в практике локомотивостроения. 168

От мелких примесей топливо очищается в фильтрах тонкой очистки, обладающих большим гидравлическим сопротивлением. Для снижения гидравлического сопротивления устанавливают параллельно несколько секций фильтров. По принципу действия рабочие элементы фильтров тонкой очистки разделяют на войлочные и бумажные.

Войлочный фильтрующий элемент представляет собол сетчатый каркас, обтянутый снаружи шелковым чехлом, с надетым поверх чехла пакетом войлочных пластин, чередующихся с картонными. Подобные фильтры устанавливали ранее практически на всех тепловозах. Отличие заключается в том, что, например, в фильтрах тепловозов ТГ102, ТУ2, ТГМЗ чередуются тонкие и толстые войлочные пластины, в фильтре тепловоза ТУ7 войлочные пластины чередуются с капроновыми проставками.

Главным недостатком войлочных фильтров является их несоответствие современным требованиям (они задерживают частицы лишь более 0,02 мм). Поэтому повсеместно на вновь проектируемых и эксплуатирующихся тепловозах применяют бумажные фильтры, стоимость которых меньше, стоимости войлочных. Бумажный фильтрующий элемент тонкой очистки (ФЭТО) предназначен для установки в корпус обычного с войлочным фильтрующим элементом фильтра (рис. 115). Поэтому его применяют на эксплуатирующихся локомотивах. Он задерживает частицы размером 0,004-0,006 мм.

Расчет фильтров сводится к определению площади фильтрации (м) .

FфaAGJVф),

(26)

где ui - доля жидкости, проходящей через фильтр (при наличии одного фильтра % = 1,0; при двух фильтрах, работающих параллельно, Ui = 0,5); G„ - расчетная подача насоса, м/ч; Иф - скорость фильтрации " (для фильтров тонкой очистки обычно Уф = 7-4-12 и/ч, для щелевых фильтров = 0,1ч-0,15 м/с).

Топливоподогреватели. Все современные локомотивы с автономными энергетическими установками оборудованы топливоподо-гревателями, а в топливных баках локомотивов (ТУ2, ТУЗ, ТЭ1, ЧМЭ2), не оборудованных топливоподогревателями, на боковых стенках и днище уложен слой теплоизоляции из войлока, находящийся в кожухе из листового железа. Это предохраняет топливо от сильного переохлаждения при низких температурах окружающего воздуха. Как показал опыт эксплуатации тепловоза ТЭ1, топливо не переохлаждается даже при температуре наружного воздуха-40 °С.

Баки газотурбовозов оборудуют и теплоизоляцией и трубчатыми топливоподогревателями, установленными внутри топливных баков. Кроме этого, имеется топливоподогреватель внутри газотурбовозов. Аналогично оборудован и тепловоз ВМЭ1. На



0 1 2 3 4 5 6 7 8 9 10 11 12 13 14 15 16 17 18 19 20 21 22 23 24 25 26 [ 27 ] 28 29 30 31 32 33 34 35 36 37 38 39 40 41 42 43 44 45 46 47 48 49 50 51 52 53 54 55 56 57 58