Промышленный лизинг Промышленный лизинг  Методички 

0 1 2 3 4 5 6 7 8 9 10 11 12 13 14 15 16 17 18 19 20 21 22 23 24 25 26 27 28 29 30 31 32 33 [ 34 ] 35 36 37 38 39 40 41 42 43 44 45 46 47 48 49 50 51 52 53 54 55 56 57 58

Изложенная методика технико-экономического сравнения систем охлаждения тепловозов позволяет однозначно оценить их эффективность и выбрать оптимальный (при минимальных Эп) вариант.

§ 30. СИСТЕМЫ ВОЗДУХОСНАБЖЕНИЯ И ВОЗДУШНОГО ОХЛАЖДЕНИЯ

Локомотив является мощным потребителем воздуха. Во-первых, воздух используется как компонент рабочей смеси в силовых установках тепловозов и газотурбовозов, во-вторых, для охлаждения тяговых электрических машин и аппаратов.

Характеристика атмосферного воздуха. Атмосферный воздух содержит пыль, влагу и другие загрязнения, которые способствуют увеличению абразивного износа деталей двигателей внутреннего сгорания и ГТУ, уменьшению механической и диэлектрической прочности изоляции электрических машин и ухудшению их теплоотдачи.

Запыленность воздуха, потребляемого локомотивами, значительно меньше по сравнение с воздухом, потребляемым другими транспортными средствами, поскольку первые движутся в голове состава по рельсам при большом расстоянии между поездами. При этом запыленность засасываемого воздуха в основном обусловлена характером окружающей местности.

Запыленность воздуха по ряду причин величина относительная. В настоящее время установлены три характерных района железных дорог со следующей запыленностью:

малой (средняя запыленность 0,2-0,6, предельная 1-2 мг/м);

повышенной (средняя запыленность 2-3, предельная 4 мг/м);

высокой 100 мг/м и более.

Однако даже при такой сравнительно низкой запыленности за 1 ч работы двигателя мощностью 2200 кВт в него может поступить 50-60 г пыли, в тяговые двигатели 50-55 г, в главный генератор 10-20 г.

Наличие влаги обусловлено интенсивностью дождя, предельное значение которой составляет 3 мм/мин (ГОСТ 15150-69). Принимается, что такая интенсивность может иметь место 5 мин подряд 1-2 раза в год. Кроме этого, в расчетах можно принимать интенсивность дождя 1,5 мм/мин в течение 1 ч и 0,5 мм/мин - 5 ч. Загрязненность воздуха в помещении машинного отделения масляным туманом составляет 0,3 мг/м.

Система воздухоснабжения и выпуска отработавших газов дизеля. Система воздухоснабжения дизеля предназначена для забора воздуха, его очистки, охлаждения (подогрева) и нагнетания в дизель. К показателям работы системы воздухоснабжения прежде всего относят эффективность очистки воздуха от пыли, влаги и других примесей, гидравлическое сопротивление и пылеемкость воздухоочистителя.


9 .10


-{> Атмосферный Воздух

Рабочий воздух для дизеля

Выпускные газы о-о Охлаждаюш,ая вода

Рис. 134. Схемы систем подачи воздуха и выпуска газов тепловозных дизелей: а - 2Д100; б- ПД1; в - ЮДЮО; / - воздухоприемное устройство; г - воздухо-очнстнтель; 3 - приводной нагнетатель; 4 - компрессор; 5 - газовая турбина газотурбинного нагнетателя; 6 - воздухоохладитель; 7 - впускной коллектор; 8 - промежуточный воздуховод; 9 - выпускные коллекторы; 10 - глушители шума

В систему воздухоснабжения входят устройство для очистки воздуха (воздухоочистители), агрегаты наддува (воздухонагнета-тели), воздухоохладители, воздуховоды и воздухозаборные устройства.

Воздухоочистители предназначены для улавливания пыли из воздуха, подаваемого в энергетическую установку.

Воздухонагнетатели служат для предварительного сжатия воздуха, что повышает мощность энергетической установки.

Применяют систему воздухоснабжения с воздухоохладителями (рис. 134, б, в) и без них (рис. 134, а). Охлаждение наддувочного воздуха на тепловозных дизелях применяют преимущественно при давлении наддувочного воздуха выше 0,17-0,2 МПа и осуществляют либо охлаждающим воздухом, либо водой. Наличие такого охлаждения позволяет уменьшить удельный объем воздуха, нагнетаемого в цилиндры дизеля, увеличивая этим массу заряда.

При работе локомотива в условиях низких зимних температур (наличие переохлажденного воздуха) ухудшаются условия полного сгорания топлива и увеличивается время прогрева дизеля. Поэтому при проектировании необходимо предусмотреть возможность отключения воздухоохладителя. Однако и этой меры в ряде случаев оказывается недостаточно. Поэтому необходимо проводить подогрев наддувочногоТвоздуха.

Подогрев наддувочного воздуха можно осуществить введением дросселирования его до или после агрегата наддува. В этом случае увеличивается коэффициент остаточных газов в ресивере. Более эффективен подогрев путем перепуска воды из контура охлажде-



ния дизеля в контур охлаждения наддувочного воздуха (тепловоз 2ТЭ116), так как на холостом ходу и малых нагрузках температура воды контура охлаждения дизеля намного превышает температуру воды в контуре охлаждения наддувочного воздуха.

Система воздухоснабжения забирает воздух из атмосферы и подводит его к дизелю по трубе, от которой к каждому всасывающему каналу в крышке цилиндра ответвляется патрубок. Диаметр трубы выбирают в зависимости от числа цилиндров и их диаметра, а также угловой скорости вращения вала двигателя. Для шести- и восьмицилиндровых двигателей при угловой скорости вала двигателя 60-160 рад/с он равен 0,6-0,7 диаметра цилиндра, а при наличии наддува -0,7-1,0. Конструкция воздуховодов и воздухо-заборных устройств обусловлена компоновкой локомотива, типом и числом дизелей.

Агрегаты наддува и воздухоохладители являются узлами дизеля, что же касается воздуховодов, воздухозаборных устройств и воздухоочистителей, то их конструкция и основные параметры определяются в процессе проектирования тепловозов.

Устройство для отвода отработавших газов из дизеля состоит из выпускного коллектора и,глушителя шума (см. рис. 134). Отработавшие газы от цилиндров дизеля отводятся по выпускным коллекторам в атмосферу и при газотурбинном наддуве - в турбокомпрессоры. Из коллектора по круглым патрубкам газы поступают в глушитель шума, представляющий собой барабан с внутренними перегородками. Диаметр барабана значительно больше диаметра подводящего патрубка, в результате чего газовый поток в барабане дополнительно завихряется и скорость его уменьшается. Как следствие этого, выход газа в атмосферу происходит с пониженным шумом.

У четырехтактных многоцилиндровых двигателей с газотурбинным наддувом выпускной коллектор изолируют для предотвращения охлаждения выпускных газов, тепловую энергию которых используют в наддувочной турбине. При этом, чтобы потоки газов, выходящих из цилиндров, не создавали один другому подпоров, вместо одного коллектора устанавливают два и более.

При отсутствии наддува между стенкаМи коллектора и кожухом выполняют полость для протока охлаждающей воды. Внутренний диаметр коллектора для шести- и восьмицилиндрового двигателя при угловой скорости вала 60-160 рад/с составляет 0,4-0,5 диаметра цилиндра.

Системы охлаждения тяговыхэлектрических машин и аппаратов предназначены для поддержания необходимого температурного режима электрооборудования в любых эксплуатационных условиях. На локомотивах применяют индивидуальную, централизованную и смешанную системы охлаждения. При индивидуальной системе для каждой электрической машины и аппарата забор воздуха осуществляется своим вентилятором. Централизованная система характерна тем, что все электрические машины и аппараты


Рис. 135. Схема вентиляции электровоза ВЛ80: / - жалюзн в боковых стенках кузова; 2 - радиаторы жидкостного охлаж дення нгинтронов; 3 - сглаживающий реактор; 4 - радиаторы жидкостной системы охлаждения трансформатора; 5 - осевой вентилятор; 6 - жалюзн на крыше электровоза; 7 - центробежный вентилятор; 8 - дефлекторы

В ней снабжены воздухом от одной вентиляционной установки. При смешанной системе электрические машины и аппараты объединены в группы, каждую из которых обслуживает вентилятор.

Наиболее распространенной схемой охлаждения в локомотивостроении является смешанная. Характерная особенность такой схемы применительно к тепловозу или газотурбовозу - групповая система охлаждения тяговых двигателей и индивидуальная генератора.

Смешанная система, примененная на электровозах ВЛ80 (рис. 135) и ВЛбО", имеет три группы электрических машин и аппаратов, каждую из которых обслуживает вентилятор. Охлаждение первого и второго, так же как пятого и шестого тяговых двигателей, осуществляется от одного вентилятора, а третий и четвертый тяговые двигатели совместно с системой охлаждения трансформатора образуют другую группу с вентилятором.

Индивидуальная система охлаждения встречается редко. В частности, она применена на отечественном электровозе ВЛ62, французском электровозе серии К.

Нецентрализованные системы (индивидуальные и смешанные) более экономичны по стоимости изготовления. Однако наличие большего общего числа агрегатов снижает надежность и экономичность системы, усложняет наблюдение за техническим состоянием агрегатов.

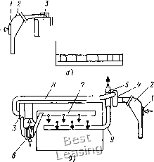
Централизованную систему (рис. 136) используют на тепловозах ТЭП70, ТЭ121, ТЭ41, ТЭМ7, ВЛЮ, «Сенчури» фирмы Алко. Она позволяет повысить надежность вентиляционного оборудования и упростить его обслуживание. При сосредоточении вентиля-




Рис. 136. Система централизованного воздушного охлаждения тепловоза ТЭП70:

/ - осевой вентилятор; 2 - воздуховод к главному генератору; 3, 4, 7, 14, 16 - воздухопроводы к тяговым электродвигателям; S - воздуховоды к калориферам кабин; б - воздуховоды обогрева стенок лобовых окон; 8 - рама тепловоза; 9 - воздухопровод к тяговым двигателям задней тележки; 10 - тяговый генератор; 11 - крышевой блок фильтров; 12 - выпрямительная установка; 13 - воздуховод к выпрямительной установке; 16 - центральный воздуховод; 17 - воздуховод к высоковольтной камере

ционного оборудования упрощается привод вентилятора, снижается его масса, повышается КПД, упрощается очистка воздуха, подаваемого ко всем агрегатам. В результате повышения производительности вентилятора улучшаются его технико-экономические показатели.

Существенным недостатком централизованных систем является необходимость создания сравнительно большого давления (иногда превышающих 5 кПа) для вентиляторов с высокой производительностью. Это вызвано тем, что существенно удлиняются воздуховоды, увеличивая аэродинамическое сопротивление системы. Расход воздуха для охлаждения тяговых м{1шин в централизованной и нецентрализованной системах одинаков. Поэтому для обеспечения потребного расхода воздуха повышают давление в системе, что приводит к дополнительным аэродинамическим потерям и увеличению затрат мощности на привод вентилятора. Недостатком централизованной системы являются также увеличение ее массы и габаритных размеров.

Расчет и проектирование систем охлаждения. Расчет систем охлаждения сводится к определению производительности G, давления Н вентилятора (вентиляторов), подбору его для спроектированной системы.

Определение необходимого количества воздуха. На основании сравнительного анализа технических данных общее количество воздуха, охлаждающего тяговые электрические машины, составляет для тепловозов 11-12,2 м/ч на каждый киловатт мощности 210

(с учетом охлаждения выпрямительной установки тепловоза с передачей переменно-постоянного тока 12,4-12,7 мч), для электровозов с передачей переменного тока 5,8-9 мч. В целом на охлаждение тяговых электрических машин тепловоза затрачивается количество воздуха, более чем в 2 раза превышающее потребность дизеля в воздухе.

Интенсивность охлаждения тяговых электрических машин оценивают удельными величинами. Удельные расходы воздуха GIP для тяговых электрических машин некоторых локомотивов следующие.

Тяговые электродвигатели р, кВт l-

м» (мин-кВт)

ЭДТ200Б (ТЭМ1, ТЭЗ).............. 87; 206 0,518; 0,267

ЭД107А (М62, 2ТЭ10Л).............. 198; 307 0,269; 0,244

ЭД108 (ТЭП60)................... 307 0,250

ЭД112 (V300) .................. 307 0,392

ЭД119 (ТЭП70)................. 411 0,228

ЭД120 (ТЭМ7).................. 184 0,490

НБ-412К (ВЛ60)................. 775 0,142

НБ-418 (ВЛ80).................. 790 0.133

НБ-407Б (ВЛ82«) ................ 755 0,113

AL-442nP (ЧС4).................. 850 0,113

Тяговые генераторы

МПТ 84/39 (ТЭ2)................ 625 0,110

МПТ 99/47А (ТЭЪ)............... 1350 0,067

ГП312(М62) .................. 1270 0,130

ГП311Б (2ТЭ10Л)............... 2000 0,125

ГП 3UB (ТЭП60)............... 2000 0,120

ГС501(ТЭ109)................. 2000 0,132

ГС 504 (ТЭ41).................. 2600 0,113

ГС 504А (ТЭП70)................. 2750 0,097

Расход воздуха G (м/ч) необходимого для охлаждения электрических машин определяют по следующим выражениям: для двигателей

Озд14,з;".!~;;- (34)

РвзСр.вз Лэд \

для генераторов

""-КГА- (35)

для выпрямительных установок Ов.у=14,3-J±y-(-L i), (36)

РвзСр.взАв.у \Чв.у / >

где Ср. вз - удельная теплоемкость воздуха, Дж/(кг-°С); Рвз- плотность воздуха, кг/м; At - температура нагревания воздуха в электрических машинах и аппаратах. Экспериментально получено Ад = 2025° С; = 22-4-28 °С (большее значение для самовентилируемых генераторов); Ав. у == 10-4-12 °С.



0 1 2 3 4 5 6 7 8 9 10 11 12 13 14 15 16 17 18 19 20 21 22 23 24 25 26 27 28 29 30 31 32 33 [ 34 ] 35 36 37 38 39 40 41 42 43 44 45 46 47 48 49 50 51 52 53 54 55 56 57 58