Промышленный лизинг Промышленный лизинг  Методички 

0 1 2 3 4 5 6 7 8 9 10 11 12 13 14 15 16 17 18 19 20 21 22 23 24 25 26 27 28 29 30 31 32 33 34 35 36 37 38 [ 39 ] 40 41 42 43 44 45 46 47 48 49 50 51 52 53 54 55 56 57 58

SOIJJ.

oiuei

09uei

oiei

9iieiz

aoiexs

swei iwei

ewji

ч9лх

I I 00

о о

1 о 1 о

1 о 1 о

см -.

I < I о ю"" см

о о о

I о I о

о о о

I ю I ю см о

о о «л

I о I ю о

I о I ю •.CM-f.-r о

, 03

и eg с

• (U •

3 .

X « "

gg = ili

ч о " о о«

я я \3

я

3 к о

§

&

пания порожком 6 форсунки. Во время работы воздух, идущий через канал 2, разрыхляет песок, а воздух, идущий через сопло 5, создает разрежение в полости форсунки (форсунка работает как эжектор). Разрыхленный песок устремляется в зону разрежения (песочный трубопровод) и поступает далее под колеса локомотива. Основное преимущество этих форсунок заключается в том, что они позволяют создавать сравнительно большую скорость истечения песка при умеренном его расходе. Обычно причиной отказа форсунки служит засорение рыхлительного канала в ее корпусе. Реже наблюдается засорение мелким песком (пылью) воздушного сопла, через которое подается воздух для транспортировки песка.

Форсунки песочниц, применяемые на зарубежных железных дорогах, принципиально не отличаются от форсунок отечественной конструкции.

Трубопроводы. При проектировании необходимо, чтобы гидравлические сопротивления трубопроводов от воздухораспределителя до каждой форсунки были равны. Если это не удается, то следует осуществлять питание форсунок сжатым воздухом раздельно. Такие меры способствуют увеличению быстродействия песочной системы и одновременности срабатывания форсунок.

Трубы песочницы располагают таким образом, чтобы концы их находились на расстоянии 50-65 мм от головки рельса с наклоном 13-15° к оси рельса. Их изготовляют из

Рис. 148. форсунка песочницы тепловозов ТЭЗ, ТЭМ2, ТГМЗА:

/ - корпус; 2 - канал; 3 - регулировочный вннт; 4 - винт; 5 - сопло; 6 - порожек; 7 - крышка; А - подвод воздуха от воздухораспределителя песочниц; Б - подвод песка из бункера песочницы; В - подача песка под колеса


стальных бесшовных или холоднотянутых труб с внутренним диаметром не менее 25-27 мм.

При расходе песка 1-1,5 кг/мин выходная скорость (по воздуху) должна в 3-3,5 раза превышать скорость ветра (при расчетной скорости поперечного ветра 10-12 м/с принимают и/, = = 30-н42 м/с). Чтобы обеспечить необходимую скорость песка на выходе, а также долговечность работы концевых труб, на их концы насаживают резиновые наконечники с выходным диаметром 18- 20 мм. Форма выходного отверстия насадки практически не влияет на скорость и кучность струи, и поэтому можно применять любую, наиболее приемлемую технологически.

Необходимо избегать поворотов и делать их по возможности более плавными, так как износ трубопровода в месте изгиба в 500- 2000 раз больше износа прямых участков.

§ 35. СИСТЕМЫ ПОЖАРОТУШЕНИЯ

Для обеспечения пожарной безопасности на локомотивах при--меняют противопожарные системы, состоящие из средств пожарной сигнализации, автоматического и ручного пожаротушения.

Средства пожарной сигнализации. Тепловозы 2ТЭ10Л - первые советские локомотивы, на которых используют пожарную сигнализацию. Основными элементами системы автоматической сигнализации являются извещатели. Они должны обладать малой инерционностью и быть устойчивыми к переменным температурам и загазованности. Этим требованиям соответствуют извещатели, реагирующие на ультрафиолетовое излучение открытого пламени, на дым, на повышение температуры в месте установки (тер-моизвещатель).

Извещатель первого типа применяют в помещениях с температурой от -10 до -f 40 °С с относительной влажностью воздуха до 80%. Основные недостатки - чувствительность к парам кислот и щелочей и малая эффективность в загроможденных помещениях.




Рис. 149. Время срабатывания различных пожарных извещателей:

1 - нарастания концентрации дыма; 2 - i температуры в зоне огня; Г» - светового нзвещате-ля; 7", - дымового нзвещателя; Т - дифференциального теплового нзвещателя; Гз - максимального теплового нзвещателя

Чувствительным элементом извещателя, реагирующего на продукты горения (дым), является ионизированная камера. Такой извещатель применяют в закрытых помещениях с температурой от -30 до +60° С с относительной влажностью воздуха 80?.

Чувствительным элементом термоизвещателя третьего типа служит полупроводниковое термосопротивление, надежно работающее при температуре окружающей среды от -50 до +120° С и относительной влажности до 98%. В настоящее время эти термо-извещатели получили наибольшее распространение на локомотивах.

Кроме указанных выше извещателей применяют термоизвеща-тели, имеющие проводник из плавких сплавов. Достоинством таких извещателей является простота конструкции, эксплуатационная надежность, а также возможность размещения их практически в любом месте локомотива, в том числе в картере дизеля и тяговых двигателях. Быстродействие пожарных извещателей каждого типа различно (рис. 149).

В систему сигнализации кроме извещателей входит приемная станция, принимающая и подающая сигналы о пожаре, приводящая в действие средства пожаротушения, световую и звуковую сигнализацию для оповещения бригады о возникновении огня и его местонахождении.

На тепловозах используют приемные станции лучевого типа, рассчитанные на подключение двух лучей, в один из которых собираются сигналы с извещателей дизельного помещения ДП, в другой - с высоковольтной камеры ВК. При срабатывании извещателя приемная станция включает соответствующую сигнальную лампу «Пожар ДП» или «Пожар ВК» и подает звуковой сигнал.

В схеме пожарной сигнализации необходимо предусматривать возможность контроля основных цепей и их отключение. Целесообразно также наличие переключателя режимов работы (летнего и зимнего).

Средства пожаротушения. Ввиду хорошей проветриваемости внутреннего помещения, наличия большого числа вероятных очагов пожара и быстрого распространения пламени на локомотивах наибольшее распространение получило объемное тушение пожара. Этот способ тушения характеризуется тем, что огне-тушащий состав вводят в весь объем контролируемого помещения. На локомотивах применяют тушение; 238

объемное - водой из системы дизеля с 10%-ной добавкой по массе бромистого этила CgHgBr;

газовое объемное - огнегасящим составом «3,5» (смесь бромистого этила 95,8% и чистого хлороформа 4,2%) или фреоном;

пенное.

Объемное тушение водой с добавлением бромистого этила производится через специальный трубопровод, к которому подключены распылители. В систему входят резервуар для хранения запаса бромистого этила емкостью 80 л, шестеренный насос с электродвигателем, распределительное устройство, водяной трубопровод с центробежным распылителем и воздушный трубопровод, которые подводят к резервуару с бромистым этилом. Бромистый этил в камеру смешения подается сжатым воздухом под давлением 0,55 МПа по команде с пульта машиниста.

Водная эмульсия бромэтила обладает повышенной эффективностью тушения в результате сочетания охлаждающего действия воды и ингибирующего действия галоидированных углеводов в газовой фазе. Из 1 кг жидкого бромистого этила получается 206 л паров.

Число распылителей находят из выражения

Я (п) = 1 - е- wn)V\

где Р (п) - вероятность возникновения пожара, для тушения которого необходимо включить п и менее распылителей; п - число распылителей, необходимое для тушения пожара; п* ~ параметр распределения для рассматриваемой группы объектов.

Число распылителей (согласно усредненным статистическим данным, п* = 4,1) следующее.

Вероятность . . . 0,39 0,64 0,78 0,89 0,94 0,97 0,99 Число распылителей...... 1 5 10 20 30 50 100

Диаметр отверстия в резервуаре для подачи бромистого этила в воду определяют из условия получения расхода 25 л/мин, используя соотношение

от = Оот/( VTf),

где Got - расход через отверстие; Я, - коэффициент расхода, принимаемый в данном случае равным 2,74; - эффективное сечение; Я - напор, равный plp; р - давление воздуха (обычно 0,55 МПа); рэ - плотность бромистого этила 1,125 г/м*.

После поступления сигнала о возникновении очага пожара приемная станция автоматически осуществляет следующие операции: останавливает дизель, включает автостоп; выключает вентилятор машинного отделения; по истечении 30 с подает воду и бромистый этил в расходный трубопровод.

Система газового объемного тушения пожара состоит из баллона высокого давления с составом «3,5». Емкость баллона 40 л, на головке его расположен пиропатрон.




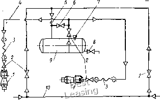
Рис. 150. Схема системы газового объемного пожаротушения:

/ - огнетушитель; 2 - рукоятка ручного привода в действие системы; 3 - кран трехходовой; 4 - трубопровод; 5 - трос; 6 - распылительные патрубки; 7 - рукоятка тросового привода; S - распылительный трубопровод; 9 - пневмоцилнндр

При получении сигнала о пожаре от извещателя приемная станция подает напряжение для взрыва пиропатрона. После этого состав поступает в распределительное устройство и далее в машинное отделение или картер дизеля или в высоковольтную камеру и заполняет их объем парами состава.

Система пожаротушения машинного отделения дизельного поезда ДР1А (рис. 150) состоит из двух автономных установок (основной н резервной). Каждая из них имеет три огнетушителя, которые присоединены к общему распылительному трубопроводу с патрубками. В распылительном трубопроводе, проходящем вдоль всего машинного помещения, просверлены 79 отверстий диаметром 2 мм. Они обеспечивают распыл и равномерное распределение огнегася-щего состава во всем объеме машинного помещения.

Бромистый этил обладает токсичностью, поэтому в настоящее время более широкое распространение получили установки пенного тушения. Система пенного тушения является наиболее предпочтительной из рассмотренных, так как пеиа, подаваемая ею к поверхностям горения и прекращающая доступ кислорода в зону горения, не оказывает разрушающего действия на оборудование локомотива.

Рабочей жидкостью системы является водный 4%-ный раствор пенообразователя, который обеспечивает 25-80-кратный выход пены. Система пенного тушения позволяет вести борьбу с огнем не только на самом локомотиве, но и на объектах вне его. Ее применяют на магистральных отечественных тепловозах ТЭЗ, ТЭ7, ТЭПЮ, ТЭП70, 2ТЭ10В, ТЭ109.

Противопожарная установка тепловоза ТЭП70 состоит (рис. 151) из резервуара 9 для огнегасящей жидкости емкостью 290 л (270 л занимает вода и 11,6 л пенообразователь ПО-1, ГОСТ 6948-70) и двух генераторов / пены (смесителей). Пуск установки осуществляют одним из разобщительных кранов 2. Открыв один из двух кранов, можно тушить огонь с одного или двух постов. При открытии разобщительного крана воздух из главных воздушных резервуаров тормозной системы по питательной магистрали 10 поступает в ре-


Рис. 151. Схема системы пенного пожаротушения:

/ - генератор (смеситель); 2 - разобщительный кран; 3 - шланг; 4 - трубопроводы; 5 - бойка для прохода воздуха; 6 - кран для продувки; 7 - горловина; 8 - спускной кран; 9 - резервуар; 10 - питательная магистраль

зервуар 9 и генераторы 1 пены. Под давлением воздуха 0,85 МПа раствор поступает по трубопроводам и шлангам в генератор, в котором образуется пена, и ее струя направляется на горящие предметы. Для удобства гашения огня генераторы 1 пены соединены с трубопроводом 4 гибкими резинотканевыми рукавами 3 длиной 8м.

Установка работает при использовании одного смесятеля в течение 10- 12 мин, двух - в 2 раза меньше во времени. Длина струи пены достигает 4-5 м.

Кроме пожарной установки на локомотивах устанавливают огнетушители (табл. 25).

Резервуар для огнегасящей жидкости на тепловозе 2ТЭ10В находится в задней части дизельного помещения под крышей, на тепловозе ТЭЗ - на полу, а на тепловозе М62 вместо одного используют два резервуара с тем же общим объемом.

Таблица 25

Противопожарное оборудование для одной секции тепловозов

Наименование

с т н

я;

£

С5 О

Установка для тушения пожара

(воздухопенная)

Огнетушитель:

пенный

углекислотный

Автоматическая система пожарной

сигнализации



0 1 2 3 4 5 6 7 8 9 10 11 12 13 14 15 16 17 18 19 20 21 22 23 24 25 26 27 28 29 30 31 32 33 34 35 36 37 38 [ 39 ] 40 41 42 43 44 45 46 47 48 49 50 51 52 53 54 55 56 57 58