Промышленный лизинг Промышленный лизинг  Методички 

0 1 2 3 4 5 6 7 8 9 10 11 12 13 14 15 16 17 18 19 20 21 22 23 24 25 26 27 28 29 30 31 32 33 34 35 36 37 38 39 40 [ 41 ] 42 43 44 45 46 47 48 49 50 51 52 53 54 55 56 57 58

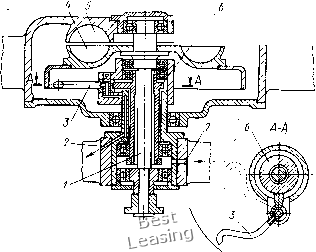
12 13 П 15 № - 17


Рис. 154, Схема приводов вспомогательных машнн н механизмов тепловоза

2ТЭ10В:

/ - двухмашинный агрегат; 2, 10 - карданные валы; 3 - промежуточная опора; 4 - тормозной компрессор; 5, 13 - вентиляторы охлаждения тяговых электродвигателей; 6 - передний распределительный редуктор с гидромуфтой; 7 - вентилятор охлаждения главного генератора; 8 - редуктор вентилятора охлаждения тягового генератора; 9 - тяговый генератор; - дизель; 12 - редуктор распределительный задний; 14 - однокорпусный агрегат; 15 - редуктор привода одиокорпусиого агрегата; 16 - вентилятор холодильника; 17 - гидроредуктор вентилятора холодильника

случае получают от следующих источников: вспомогательного генератора локомотива, непосредственно от главного генератора, вспомогательных обмоток, смонтированных в главном генераторе, или от аккумуляторных батарей (если энергетическая установка локомотива не работает).

Механический и гидромеханический приводы широко используют на отечественных тепловозах. Применяют как индивидуальный, так и групповой привод. Передачу крутящего момента в последнем случае осуществляют при помощи системы валов и одного или нескольких распределительных редукторов.

На тепловозе 2ТЭ10В отбор мощности от дизеля на привод механических машин и механизмов производится как со стороны генератора, так и со стороны холодильной камеры (рис. 154). На тепловозе имеется три распределительных редуктора 6, 8, 12. Через редуктор 6, расположенный со стороны главного генератора, приводят тормозной компрессор 4, вентилятор 5 охлаждения тяговых электродвигателей передней тележки и двухмашинный агрегатi. От редуктора 12 осуществляют привод вентилятора 13 охлаждения тяговых электродвигателей задней тележки и вентилятора 16 холодильной камеры. От редуктора 8 приводят вентилятор 7 охлаждения главного генератора. Редуктор 15 привода подвозбудителя является одновременно и промежуточной опорой при передаче крутящего момента от заднего распределительного редуктора к редуктору 17 гидродинамического привода вентилятора холодильной камеры. На тепловозах с электропередачей привод компрессора всегда осуществляют со стороны главного генератора, так как последний в силу своей инерционности защищает валопровод дизеля от возбуждения крутильных колебаний.

Механический привод имеет высокий КПД, сравнительно прост и надежен в эксплуатации. Механический привод при наличии двухступенчатых редукторов позволяет в зависимости от температуры окружающей среды изменять режимы работы вентилятора (летний и зимний режимы), резко уменьшая потребляе-

мую мощность при зимнем режиме. Такую конструкцию привода вентилятора холодильной камеры имеют тепловозы ТЭЗ, ТЭМ2. Передачи переключают вручную перестановкой рычага подвижной шестерни редуктора привода. Регулировать режимы работы в зависимости от сезона перспективно и для привода вентиляторов охлаждения тяговых электрических машин, так как это позволяет повысить экономичность локомотива.

Недостатком механического привода является сравнительно большая масса, а главное, усложнение компоновки локомотива, особенно при наличии нескольких вентиляторов холодильной камеры. К тому же большое число вращающихся элементов создает дополнительные вибрации и шум. Серьезную опасность для привода этого типа представляют крутильные колебания, причиной которых являются большая протяженность валопро-водов и большие инерционные массы приводимых вспомогательных механизмов и машин, а также изменение частоты вращения вала энергетической установки локомотива и наличие переходных режимов при включении регулирующих муфт.

Для снижения крутильных колебаний в конструкцию привода вводят упругие элементы. Широко используют клиноременные передачи как для привода отдельных агрегатов, так и для привода их групп. Эти передачи имеют хорошие демпфирующие свойства. Так, на тепловозах ТЭ1, ТЭ2, ТЭМ1, ТЭМ2 и ТЭПЮ применяют групповую клиноременную передачу к двухмашинному агрегату и вентиляторам охлаждения электродвигателей. На тепловозе ТГМЗ клиноременная передача приводит в движение двухмашинный агрегат и компрессор, а на тепловозах ТЭ1 и ТГМ1 - вентилятор холодильной камеры.

Клиноременные передачи недостаточно надежны в эксплуатации, необходима их периодическая регулировка. Их можно применять лишь для вспомогательных агрегатов небольшой мощности. Более перспективны как элементы, снижающие крутильные колебания в приводе, гидродинамические муфты. На тепловозе 2ТЭ10Л при помощи гидродинамических муфт осуществляют привод вентиляторов тяговых двигателей.

Гидромеханический привод дает возможность плавно регулировать угловую скорость валов агрегатов и их отключать. Для обеспечения этих функций в обычный механический привод вводят дополнительный элемент - гидромуфту переменного наполнения. Несмотря на значительное снижения КПД при изменении частоты вращения вала, приводы такого типа имеют существенные преимущества: при приводе компрессора осуществляется его периодическое отключение от энергетической установки; минимальная передача крутильных колебаний на энергетическую установку; сохранение постоянной угловой скорости вала на рабочем режиме независимо от угловой скорости вала энергетической установки. Последнее обстоятельство позволяет применять быстроходные компрессоры меньшей подачи.




Рис. 155. Гидравлическая муфта переменного наполнения: / -- ведущий вал; 2 - канал для отвода масла; 3 - черпаковая трубка; 4 - насосное колесо муфты; 5 - турбинное колесо муфты; 6 - устройство для поворота черпаковой трубки; 7 - канал для подачи масла

Анализ работы различных конструкций приводов показывает, что в диапазоне наиболее возможной работы компрессоров локомотивов затраты энергии на гидродинамический привод компрессора существенно меньше, чем на механический, при этом высокооборотный компрессор ПК-3,5 имеет значительно меньшую массу, чем компрессор КТ6.

Гидравлические муфты переменного наполнения (рис. 155) применяют и для изменения частоты вращения рабочего колеса вентилятора. Такая муфта, заполненная маслом, передает наибольший крутящий момент с минимальным скольжением. При уменьшении количества масла в муфте передаваемый крутящий момент уменьшается, скольжение увеличивается, частота вращения турбинного колеса муфты, а следовательно, и рабочего колеса вентилятора уменьшается.

Изменение наполнения муфты маслом можно осуществить при помощи черпаковой трубки. Ось поворота трубки и ось вращения муфты не совпадают, поэтому при повороте черпаковой трубки расстояние между ее свободным концом и осью вращения муфты изменяется. Черпаковая трубка соединена с трубопроводом для слива масла. Если трубку повернуть так, что ее свободный конец будет максимально удален от оси вращения муфты, то при вращении насосного колеса под действием давления, развиваемого в круге циркуляции, масло по черпаковой трубке будет выходить из муфты в систему подачи масла.

Расход через черпаковую трубку и трубопровод для слива масла больше, чем через нагнетательную трубку, по которой масло непрерывно поступает в муфту. Поэтому из муфты выходит масло, вследствие чего колесо турбины и рабочее колесо вентилятора останавливаются. Если черпаковая трубка повернута так, что свободный конец ее выведен из круга циркуляции, то муфта наполняется

маслом и рабочее колесо вентилятора приобретает наибольшую частоту вращения. При перемещении черпаковой трубки частоту вращения рабочего колеса вентилятора можно изменять от нуля до максимума. Перемещением черпаковой трубки управляют автоматически в зависимости от температуры охлаждающей жидкости.

Переменное наполнение гидромуфты можно осуществить также при помощи терморегулятора, который в зависимости от температуры охлаждающей жидкости переводит импульсы давления воздуха в поступательное движение золотника и плунжера регулятора наполнения, изменяя тем самым количество масла, подаваемого в гидромуфту.

Для обеспечения регулирования режима работы приводимого механизма применяют также муфты других типов. Так, муфты сцепления, которые позволяют осуществлять ручное или автоматическое регулирование режима работы приводимого механизма соответственно плавное или ступенчатое (релейное). На ряде тепловозов, например ТЭЗ, в приводе вентилятора холодильной камеры используют фрикционные муфты автомобильного типа, позволяющие кроме всего ограничить предельные нагрузки в приводе при увеличении частоты вращения рабочего колеса вентилятора. Однако практика показывает, что частые включения вентилятора при регулировании частоты вращения его рабочего колеса приводят к быстрому износу дисков фрикционной муфты.

Механический привод агрегата может быть выполнен с автоматическим управлением его работой и без применения быстро изнашивающихся фрикционных муфт. На ряде тепловозов вместо последних используют магнитопорошковые муфты (рис. 156).

Основными элементами муфты являются ведущая и ведомая части, токоподводящее устройство и порошок карбонильного радиотехнического железа, заполняющего внутреннюю полость муфты. Если муфта включена, а дизель работает, то ведущая часть муфты вращается внутри ведомой. Для включения муфты через ее катушку 3 пропускают электрический ток, который создает мощный магнитный потрк. Под действием магнитного потока порошок, заполняющий кольцевой зазор между цилиндрическими поверхностями дис- г. ice ,

ков / и 2 ведущей и кольцом 4 ве- Р"- Электромагнитная порошко-домой части муфты, намагничивается муфта:

и соединяет ведомую часть муфты - Д«<=« ведущей части муфты; з -.сдиппс! DCAw.vij.iu 4 0.10 м ц) 1D1 сктромаги итн ая катушка; 4 - кольцо С ведущей. При размыкании электри- ведомой части муфты





Рис. 157, Вентилятор с поворотными лопатками: / - диафрагма; 2 - ползун; 5 - лопатка; 4 - втулка; 5 - ось с шариками; 6 - ступица; 7 - вал; 8 - пружина; 9 - корпус

ческой цепи порошок размагничивается, и связь между частями муфты нарушается.

Преимуществами магнитопорошковой муфты является ее компактность, плавное нарастание частоты вращения вала приводимого агрегата и отсутствие изнашивающихся дисков.

Для изменения скорости в широких пределах на ряде зарубежных локомотивов (тепловозы фирм Альстом, Алко) в механическом приводе вентилятора использованы электромагнитные муфты скольжения, которые позволяют изменять частоту вращения рабочего колеса вентилятора от нуля до максимума. На некоторых локомотивах для повышения компактности привода электромагнитная муфта размещена во втулке вентилятора.

Изменение производительности вентилятора можно обеспечить и без изменения частоты вращения рабочего колеса (при механическом приводе или электрическом) путем регулирования угла установки его лопаток. На рис. 157 приведен вентилятор с поворотными лопатками конструкции ВНИТИ. В колоколе вентилятора расположен пневматический сервопривод, действующий следующим образом. Сжатый воздух от терморегулятора подводится в полость между диафрагмой / и корпусом 9. При повышении давления воздуха диафрагма / прогибается, ползун 2, преодолевая усилие пружины 8, перемещается вниз и поворачивает лопаткн 3 на меньший угол. При снижении давления пружина перемещает ползун вверх, увеличивая угол наклона лопаток. При отсутствии давления воздуха над диафрагмой угол наклона лопаток будет максимальным. Давление воздуха, поступающего от терморегулятора, составляет 20-80 кПа, а угол наклона лопаток изменяется от 26 до 1°. Сервопривод вентилятора работает от терморегулятора давления воздуха, обладающего малой инерционностью.

Механический нерегулируемый привод компрессора является самым неэкономичным типом привода, хотя и самым простым и надежным. Следует учитывать, что компрессор служит мощным возбудителем крутильных колебаний, что обусловливает дополнительные трудности при конструировании механического привода.

Вариаторы позволяют поддерживать постоянную угловую скорость вала компрессора и отключать компрессор, а также имеют высокий КПД (до 95%) на всех режимах. Однако ввиду сложности изготовления и эксплуатации вариаторы не нашли пока распространения в локомотивостроении.

Гидростатический привод (объемный гидропривод) обеспечивает свободу компоновки вспомогательных агрегатов, так как элементы гидропривода связаны лишь трубопроводами, и их можно устанавливать в удобных для обслуживания местах; имеет меньшую массу, чем приводы других типов. Привод позволяет плавно регулировать частоту вращения элементов вспомогательных механизмов и машин, обладает большой перегрузочной способностью по мощности и крутящему моменту.

В отечественном локомотивостроении гидростатический привод с использованием аксиально-поршневых машин применяют для привода вентиляторов холодильной камеры тепловозов ТЭП60, ТЭП70, ТГ16 и дизельного поезда ДР1А.

Пуск гидронасоса I системы охлаждения масла и гидронасоса охлаждения воды осуществляют через редуктор от вала дизеля (рис. 158). Масло от насоса I поступает к терморегулятору 3. В зависимости от температуры терморегулятор может направить часть масла мимо гидромотора 7. Причем за терморегулятором масло разделяется на два потока, один из которых проходит через фильтр 5, а второй через холодильник 4. Из фильтра и холодильника масло сливается в бак 6 и из него вновь поступает к гидронасосу. Слив масла осуществляется через клапан 2.

Аналогично устроена и система привода вентилятора холодильника воды.

Особенностью гидростатического привода является то, что гидроагрегаты полностью унифицированы (гидродвигатели и насосы взаимозаменяемы).

Если в системе гидростатического привода заменить насос с постоянной подачей на регулируемый, то его регулирование

Рис. 158. Схема гидростатического привода вентилятора холодильника тепловоза ТЭП60:

/ - гидронасос; 2 - сливной клапаи; S - терморегулятор; 4 - холодильник; 5 - фильтр; 6 - масляный бак; 7 - гидромотор; 8 - вентилятор




0 1 2 3 4 5 6 7 8 9 10 11 12 13 14 15 16 17 18 19 20 21 22 23 24 25 26 27 28 29 30 31 32 33 34 35 36 37 38 39 40 [ 41 ] 42 43 44 45 46 47 48 49 50 51 52 53 54 55 56 57 58