Промышленный лизинг Промышленный лизинг  Методички 

0 1 2 3 4 5 6 7 8 9 10 11 12 13 14 15 16 17 [ 18 ] 19 20 21 22 23 24 25 26 27 28 29 30 31 32 33

ДЕТАЛИ ПРЕССА ТЖБ-150

НИИЖБом совместно с ВНИИМЕТМАШем и Ново-Краматорским машиностроительным заводом разработан проект пресса усилием 50 тыс. т модели ТЖБ-150 с железобетонной предварительно напряженной станиной. Основными элементами пресса из железобетона (рис. 74) являются:

а) силовая цилиндрическая рама с наружным диаметром 12 м и высотой 26 м; в верхней и нижней части рама ограничена железобетонными ригелями, высота которых б м. Толщина рамы 2,85 м;

б) железобетонный плунжер, выполненный в виде сплошного цилиндра, заключенного в стальную обойму. Диаметр плунжера 4,5 м, а высота 7 м;

в) силовой цилиндр; спроектирован в виде тонкой стальной гидроизоляционной рубашки, забетонированной в основании цилиндрической рамы.

В стенках цилиндра от предварительно напряженной спиральной арматуры возникают кольцевые напряжения сжатия, равные 142 кГ/см, а при работе пресса от внутреннего давления они падают до 18 кПсм. Таким образом, при внутреннем гидростатическом давлении 320 ати в бетоне цилиндра еще остаются сжимающие напряжения. Предварительное напряжение, продольной арматуры производится с помощью самого пресса. Установившееся напряжение в бетоне стенок пресса должно быть около 80 кГ/см, при работе пресса оно уменьшается до 7,5 кГ/см.

В качестве продольной предварительно напряженной арматуры принят непрерывный пучок с анкерами в виде железобетонных сегментных дисков радиусом 280 мм и шириной 500 мм. Пучок состоит из 360 проволок диаметром 5 мм с пределом прочности при разрыве 1700 кГ/см. Разрывное усилие пучка 1225 т, 118


Рис. 74. Железобетонная рама пресса ТЖБ-150С:

/ - лист; 2 - распределительная плита верхнего ригеля станины; 5-вентиляционные каналы; экранирующая стенка из жароупорного бетона; 5-закладные части направляющих; 6-рабочий цилиндр; 7 - металлическая облицовка рабочего цилиндра; « - распределительная плита нижнего ригеля станины; 9 - две стальные прокладки; /О-канал для пропуска труб гидросистемы; -предварительно напряженная проволока; 12-стыковая экранирующая конструкция из металлического листа; 13-продольная напрягаемая арматура

а расчетное усилие 650 т. Рама пресса армирована пучками высокопрочной проволоки, которые помещаются в каналах прямоугольного сечения размерами 420x100 мм. Начальное натяжение пучков проволоки с целью выравнивания длины предусмотрено до 200 кГ/см. Предварительное напряжение фиксируют с помощью стальных клиньев, закладываемых в швы, с последующей под-.ливкой цементным раствором высокой марки.

Железобетонные прессы имеют большую жесткость, чем металлические. Это обусловлено большим поперечным сечением железобетонных элементов и малой величиной перепада напряжений. Напряжения в вертикальных пучках изменяются от 10 ООО кГ/см при нерабочем положении пресса, до 10 360 кГ/см - при его эксплуатации. Перепад напряжений в арматуре составляет 3,6%. Поэтому гарантируется предел выносливости металла железобетонного пресса.

ДЕТАЛИ КОНВЕЙЕРОВ

Скребковый конвейер с шириной ленты 500 мм разработан институтом «Ленгипрошахт». Железобетонные элементы конвейера имеют коробчатое сечение (рис. 75) и изготовляются в виде отдельных секций. Крышки коробов выполнены в виде плоских железобетонных плит толщиной 40 мм.

Арматурный каркас железобетонных секций состоит из гнутой сетки, располагающейся по боковым стенкам и днищу. Толщина боковых стенок равна 40 мм, а основания - 60 мм. Для транспортирования секции предусмотрены петли из гнутых стержней.

В днище имеется углубление шириной 320 мм для укладки слоя стекла (12 мм) и цементного раствора (4 мм), а в крышке секции - загрузочные окна. В боковых стенках предусмотрены отверстия для болтов, которыми крепятся направляющие, выполненные по форме уголков. Арматура изготавливается из стержней арматурной стали класса А-I и А-П. Бетон принят марки 200;

На одном погонном метре конвейера, при изготовлении деталей из железобетона, экономится 103 кГ металла, или 68% от веса металлических деталей.


Рис. 75, Поперечное сечение железобетонной секции конвейера: ,

/ - крышка; 2- основание



в ленточных конвейерах с шириной ленты 1200 мм стойки и рама выполняются из сборного железобетона. Стойки имеют-прямоугольное сечение 70 X 100 мм и высоту 655 мм. Рама состоит из продольных и поперечных балок и имеет габаритные размеры в плане 2990x1630 при высоте 130 мм. Балки армируются плоскими каркасами. Железобетонные элементы соединяют путем сварки металлических закладных частей. Расход металла на 1 пог. м транспортера при применении железобетона снижается более чем в 5 раз.



- 900-

Рис. 76. Железобетон! ые детгли конвейера:

а - ролик; /-бетонный ролик; 2 - металлическая опора; б-барабан: /-металлический фланец с опорой; 2 - железобетонный цилиндр; -закладная часть цилиндра

Ленточные конвейеры с шириной ленты 1400 мм разработаны Харьковским Промстройпроектом.

Станина конвейера совмещена с несущей конструкцией пролетного строения, выполненной из сборных предварительно напряженных ферм с параллельными поясами. Пролет ферм составляет 16 м. Нижний пояс фермы армируют высокопрочной проволокой, натягиваемой на упоры. Бетон принят марки 400. В плоскостях верхних поясов ферм и опорных раскосов предусмотрены металлические связи, обеспечивающие устойчивость конструкции.

Верхние и нижние роликоопоры прикрепляют к закладным металлическим листам, расположенным в верхнем поясе фермы.

Кроме того, в ленточных конвейерах из железобетона изготавливаются барабаны и ролики (рис. 76, а и б). Барабан состоит из торцовых металлических опор - фланцев и железобетонного цилиндра, имеющего металлическую обойму, которая непосредственно соединяется с фланцем посредством сварки, 120

Железобетонный ролик состди-г из торцовых металлических фланцев, в которых монтируются подшипники опор бетонного цилиндра.

Экономия металла для ролика составляет 67% от веса ролика, исполненного в металле; для барабана экономия металла равна 185 кГ, или 65% от чистого веса барабана, изготовленного целиком из металла.

СБОРОЧНЫЕ ПРИСПОСОБЛЕНИЯ

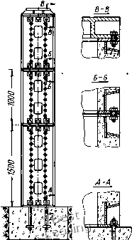
На машиностроительных заводах применяют железобетонные сборочные приспособления. Разработаны нормали на железобетонные балки и основания, составляющие каркас сборочных приспособлений. Блоки колонн разработаны трех типоразмеров: 900 X 600X1500 (1000); 600 х 450х 1500j (1000); 450 x 300x1500 (1000) мм (рис. 77).

Характеристики блоков колонн сборочных приспособлений приведены в табл. 11.

Таблица 1J

Характеристика блоков колонн сборочных приспособлений

Размеры блока

колонны в мм

Количество отверстий

в кг

"2

общий

металла

1500 1000

26 16

24 14

1060 720

92,1 82,7

1500

62,4

1000

55,9

1500 1000

26 16

24 14

330 230

38,5 34,2

Примечание

Отверстия

П, til

и т имеют

диаметр 22 мм.

Блоки армированы двумя рядами вертикальных стержней из арматуры диаметром 6 мм, расположенных на расстоянии от 50 до 200 мм, и хомутами диаметром 3 мм с шагом 50 мм.

По торцам блоки колонн имеют фланцы рамной конструкции, сваренные из полос толщиной 10 мм и шириной 80-100 мм. В торцовых фланцах предусматриваются отверстия для пропуска болтов, соединяющих блоки колонн между собой (рис. 78). Расстояние между осями этих отверстий принято во всех блоках 150 мм, что позволяет соединять блоки различных сечений с помощью болтов с гайками.



Для крепления литых балочны} и углбвых кронштейнов на боковых сторонах блоков имеются отверстия диаметром 22 мм, в два ряда с шагом 100 мм. В каждом блоке предусмотрены окна


-0--


Рис. 77. Блок колонны каркаса сборочного приспособления нз железобетона

Рис. 78. Блок колонны в~сборе

Таблица 12 Размеры верхних плит в мм

для монтажа и транспортирования блоков и кронштейнов. Балоч-. ные кронштейны попарно крепятся на верхнем торце блока колонны или с боков, а к ним сверху или снизу присоединяют продольную балку сборочного приспособления.

Для установки и крепления на блоках колонн продольных и поперечных балок служат верхние плиты, балочные и угловые кронштейны. Размеры верхних плит приведены в табл. 12, где А и В - размеры плиты по низу; а - размеры плиты по верху. Высота плит 100 мм.

Сечение блока колоииы

900Х 600

600Х 450

450Х 300

На верхних плитах можно устанавливать балки в двух взаимно перпендикулярных положениях. Балочные кронштейны попарно крепят на верхнем торце блока колонны или с боков, а к ним снизу или сверху присоединяют продольную балку сборочного приспособления.

Для блоков колонн предусмотрены нормализованные железобетонные основания, которые в верхней части имеют сварной фланец, состоящий из фланца соответствующего блока колонны и рамы с уголками 60x60x8 jmjm для установки на нее балок стапеля.

Для крепления балки в основании имеются ниши. В нижней части основания расположены четыре или шесть сварных башмаков для крепления основания фундаментными болтами к опоре. В продольных стенках расположены два сквозных отверстия диаметром 80 мм для транспортирования и монтажа оснований. Стенки основания армированы гладкими стержнями диаметром 6 мм.

Для изготовленияжелезобетонных сборочных приспособлений принят бетон марки 200. Затраты на изготовление железобетонных элементов сборочных приспособлений в 8-10 раз меньше, чем на изготовление однотипных чугунных элементов.

ДЕТАЛИ ЭКСКАВАТОРОВ

Конструкция железобетонной плиты преобразовательного агрегата экскаватора ЭКГ-4 разработана Уральским Промстройпроек-том совместно с заводом Уралэлектроаппарат (г. Свердловск). Она выполнена в виде сплошной плиты размером 4660x1080 мм, толщиной 475 мм, из бетона марки 300 с применением предварительно напряженной арматуры (рис. 79).

Расчетная жесткость железобетонной плиты выше, чем металлической.

Увеличение веса плиты с 2100 кГ (в металле) до 4500 кГ (в железобетоне) в данном случае является даже рациональным, так как на разницу этих весов уменьшается вес требуемого противовеса, частью которого одновременно является сам преобразовательный агрегат.

Характер динамических усилий, возникающих при эксплуатации экскаватора, обусловил армирование плиты. Плита армируется по всем наружным граням сетками из арматурной стали классаА-I (Ст. 3) с размером ячеек 120x120 jmjm.

Для повышения жесткости плита армирована в продольном направлении 16 струнами диаметром 5 мм из высокопрочной стали класса В, предварительно натянутыми на упоры, с общим усилием 16,5 т.

Для крепления оборудования в плиту заделывают стальные листы толщиной 30 мм.



0 1 2 3 4 5 6 7 8 9 10 11 12 13 14 15 16 17 [ 18 ] 19 20 21 22 23 24 25 26 27 28 29 30 31 32 33