Промышленный лизинг Промышленный лизинг  Методички 

0 1 2 3 4 5 6 7 8 [ 9 ] 10 11 12 13 14 15 16 17 18 19 20 21 22 23 24 25 26 27 28 29 30 31 32 33

к фундаменту, и однбврёменНо аНкербм для металлических опорных площадок и опорных платиков. Железобетонную раму рольганга армируют плоскими сварными арматурными каркасами из стали класса А-II, которые при монтаже объединяют в один прострдн-


Рис. 35. Скрытая монтажная петля:

/ - корпус; 2 - винт; 3 - крышка; 4 - анкерная скоба; S-поперечина; 6-подъемное кольцо; 7-анкерные хомуты

ственный каркас. Опорные платики запроектированы выступающими на 25 мм над поверхностью бетона, поскольку они служат также базовой площадкой при механической обработке верхних металлических опорных площадок. Для защиты бетонных поверхностей от повреждений при случайных ударах снаружи по периметру арматурного каркаса располагают защитные сетки из арматурной стали класса А-I диаметром 3 мм, с размерами ячейки 40X40 мм.

Для транспортирования и кантования рамы предусматривают скрытые монтажные петли (рис. 35), размеры которых принимают в зависимости от веса транспортируемой рамы. Применение желе-64

Зобетона для Изготовления рамы рольганга с индивидуальным приводом позволило снизить расход металла с 850 кг до 230.

При транспортировании слитков и коротких толстых полос возможен случай, когда на один ролик передается практически полный вес полосы. При транспортировании тонких и длинных полос предполагают, что вес полосы распределяется между всеми роликами равномерно.

Статическую нагрузку на один ролик определяют по табл. 8 в зависимости от веса и размера заготовки. Динамическая нагрузка возможна при падении тяжелой полосы на рольганг с высоты, например, когда полоса при выходе из валков поднимается за счет нижнего давления прокатки и затем падает на рольганг или когда уровень прокатки выше уровня роликов рольганга. Такие случаи бывают и при кантовании тяжелой полосы, когда она сначала ставится на ребро и затем падает на грань, а также при отрезании заднего конца полосы на тяжелых ножницах, не имеющих прижима, когда задний конец полосы под воздействием нижнего ножа поднимается и затем падает на рольганг. Определив усилия, которые передаются роликом на раму, производят расчет железобетонной рамы рольганга. В зависимости от конструкции рольганга схема нагружения может быть различной. Обычно рамы рольгангов рассматривают как балки на двух опорах (с консолями или без них), нагруженные усилиями от роликов, собственным весом рамы и в некоторых случаях весом электродвигателей и редукторов, установленных на раме.

Таблица 8

Величины статической нагрузки на один ролик в зависимости от веса и размера заготовки

Характеристика проката

Статическая нагрузка иа один ролик Q в кг

Прокат сечением свыше 10 000 мм и длиной менее 3 шагов роликов.............

Полосы сечением свыше 2000 мм и длиной от 3 до 4 шагов роликов.............

То же, длиной от 4 до 10 шагов роликов ....

0,75Q O.SQu,

0,3Q

Примечание. Q - вес заготовки.

Железобетонные рамы рольгангов рассчитывают на прочность и жесткость в вертикальной плоскости. Достаточная жесткость рам необходима для обеспечения точности взаимного расположения подшипниковых опор и предотвращения их перекосов при эксплуатации. Железобетонные рамы рольгангов рассчитывают на усилия, возникающие при транспортировке.



с целью определёйия ЗКсЦерймейталЬНЫм путем величин де* формаций железобетонной рамы рольганга при статическом приложении расчетных нагрузок и сопоставления их с данными расчетов в НИИПТМАШе (г. Краматорск) производились стендовые испытания. Раму нагружали до расчетной величины. Схема нагружения показана на рис. 36. По данным испытаний построен график (см. рис. 36) нарастания деформаций в железобетонной


Рис. 36. График нарастания деформаций в железобетонной раме рольганга с индивидуальным приводом рамной конструкции

раме рольганга при увеличении нагрузок (/ - = 196 кГ, Р = = 100 кГ; 2 - Pi = 980 кГ, Р = 500 кГ; 3 - Р 1764 кГ,

. - - - - - - 5-Р,-

являются

= 900 кГ; 4 - Р = 2156 кГ, Р = 1100 кР; - 2790 кГ, Рг = 1440 кГ). Расчетными нагрузками

Pi = 2790 кГ и Р = 1440 кГ. При выдержке испытываемой железобетонной рамы под расчетными нагрузками в течение 1 ч 40 мин нарастание деформаций не наблюдалось. При дальнейшем увеличении нагрузки до Pi = 4000 кГ, Р = 2000 кГ видимые трещины не обнаружены. Из данных эксперимента следует, что при расчетных нагрузках железобетонные рамы рольгангов работают в упругой стадии. Результаты эксперимента подтвердили правильность проведенных расчетов железобетонной рамы рольганга с индивидуальным приводом.

По данным эксперимента, прогиб рамы рольганга посредине в точке В при расчетных нагрузках соответственно Р = 2790 кГ, Рг = 1440 кГ равен 0,407 мм, а по расчету - 0,35 мм.

Одновременно была испытана железобетонная рама рольганга с индивидуальным приводом балочной конструкции (рис. 37) по 66

той же методике, на том же стенде и на те же нагрузки для определения экспериментальным путем величин деформаций при статическом приложении расчетных нагрузок и сопоставления их с данными испытаний рамы рольганга рамной конструкции.

--37lt0-

-SBD--


--370--

j--360--

•.

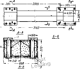
Рис. 37. Железобетонная рама рольганга балочной конструкции:

/ и 3-верхние металлические опорные площадки; 2-нижние опорные платики; 4 - трубы

По данным испытаний построен график (рис. 38) нарастания деформаций в железобетонной раме рольганга. Из этих данных следует, что при расчетных нагрузках железобетонные рамы рольгангов балочной конструкции работают в упругой стадии, а прогиб ее посредине при расчетных нагрузках составляет 1,16 мм, в то время как при этих же расчетных нагрузках в железобетонных рамах рольгангов рамной конструкции величины прогибов посредине не превышают 0,41 мм. Следовательно, железобетонные рамы рольгангов рамной конструкции более жестки, меньше деформируются и при выборе конструкции железобетонных рам рольгангов с индивидуальным приводом им следует отдавать предпочтение.

Рамы рольгангов в процессе эксплуатации иногда подвергаются воздействиям ударных нагрузок различного характера. Наиболее 5* 67



опасны изгибные ударные нагрузки, возникающие при падении заготовок на ролики рольгангов. Чтобы проверить работоспособность данного типа рам рольгангов, в НИИПТМАШе (г. Крама-


Рис. 38. График нарастания деформаций в железобетонной раме рольганга с индивидуальным приводом балочной конструкции

торск) Провели стендовые испытания железобетонной рамы рольганга на действие ударных изгибных нагрузок.

Нагрузка создавалась в результате удара свободно падающего груза весом 400 кГ. По данным экспериментов построен график

изменения деформаций (прогибов), вызванных ударными нагрузками (рис. 39). Из эксперимента следует, что с увеличением энергии удара прогибы увеличиваются. При высоте падения груза от 100 до 1000 мм испытуемая железобетонная рама рольганга работает в 1-й, упругой, стадии. При высоте падения груза от 1000 до 2000 мм испытуемая рама начинает работать в стадии IL Об этом свидетельствует появление волосных трещин при падении груза с высоты 1000 мм и увеличение их числа и глубины. В связи с образованием волосных трещин из работы частично выключается бетон растянутой зоны, т. е,


Прогибы

Рис. 39. График нарастания деформаций в железобетонной раме рольганага с индивидуальным приводом при во?действии ударных нагрузок

уменьшается рабочая высота сечения, о чем свидетельствует уменьшение амплитуды колебаний при высоте падения груза от 1200 до 1600 жж. При дальнейшем увеличении высоты падения груза от 1600 до 2000 мм наблюдается некоторое увеличение амплитуды колебаний за счет увеличения энергии удара. При высоте падения груза 2000 мм и выше волосные трещины в испытуемой раме развиваются и появляются пластические деформации. Энергия колебаний, вызванных ударом, гасится за 2,5-0,3 сек, причем чем больше возрастает энергия удара, тем меньше время гашения энергии колебаний, что также свидетельствует об увеличении пластических деформаций.

Испытания показали, что железобетонные рамы рольгангов способны воспринимать большие повторные ударные нагрузки, сохраняя работоспособность.

РАМА РОЛЬГАНГА С ГРУППОВЫМ ПРИВОДОМ

Конструкция железобетонной рамы рольганга разработана НИИПТМАШем для тонколистового прокатного стана 1700. Секция железобетонной рамы рольганга (рис. 40) состоит из двух продольных железобетонных балок 1 тл. 3, соединенных между собой при помощи траверс 2 в жесткую пространственную конструкцию, которая обеспечивает правильное положение опор подшипников, трансмиссионного вала и точность зацепления шестерен.

Балки армированы пространственными арматурными каркасами из стали класса А-II (Ст. 5). Для установки и крепления корпусов подшипников 4 и редукторов привода роликов на балках предусмотрены металлические опорные площадки. Продольная железобетонная балка рамы рольганга имеет в сечении вид тавра с полками вверху (рис. 41). В местах крепления железобетонной рамы рольганга к фундаменту балка имеет прямоугольное сечение, а для пропуска анкерных болтов предусмотрены металлические трубы /. Эти трубы приварены к верхним металлическим опорным площадкам 3, а внизу - к нижним опорным платикам 9. Труба, кроме своего основного назначения, выполняет роль анкера для опорной плиты и нижнего платика- Для стыковки железобетонных балок с траверсами на балках предусмотрены боковые опорные плиты 4. Опорные плиты 4 анкерованы в бетоне балки трубами 5, которые одновременно служат для пропуска крепежных болтов, соединяющих траверсы с балками рамы.

Крепежные болты для крепления редукторов и подшипников к раме пропускают через предусмотренные в полках металлические трубы 2. Для более жесткой связи полок железобетонной балки с ребром служат металлические кронштейны 7. Они с обеих сторон связаны между собой поперечными металлическими стерж-

Авторское свидетельство № 144137. «Бюллетень изобретений», № 2, 1962-



0 1 2 3 4 5 6 7 8 [ 9 ] 10 11 12 13 14 15 16 17 18 19 20 21 22 23 24 25 26 27 28 29 30 31 32 33