Промышленный лизинг Промышленный лизинг  Методички 

0 1 2 3 4 5 6 7 8 9 10 11 12 13 14 [ 15 ] 16 17 18 19 20 21 22 23 24 25 26 27 28 29 30 31 32 33 34 35 36 37 38 39

Приближенно сила Q на штоке вращающихся пневмокамер двустороннего действия с двумя диафрагмами прн поступлении сжатого воздуха в любую полость:

где D - диаметр диафрамы пневмокамеры, см; d - диаметр опорного диска, см; ii -диаметр штока, см; р - давление сжатого воздуха, МПа (кгс/см).


Рис. V.14. Универсальная пневмокамера двустороннего действия с рычагом-усилнтелем (а) и примеры ее для зажима деталей в приспособлении (б)

На рис. V.14, а представлена универсальная приставная пневмокамера двустороннего действия с рычагом-усилителем. Ее применяют для механизации перемещения зажимных устройств приспособлений при обработке деталей на фрезерных и сверлильных станках.

На корпусе 9 пневмокамеры смонтированы две крышки 3, между которыми зажаты две тарельчатые диафрагмы 2, жестко прикрепленные к стальному штоку 8. В паз штока справа и слева вставлены длинные плечи рычагов-усилителей 7, расположенные на осях 6. На конце плеч рычагов 7 имеется по два коротких отростка / и 10. Рычаг 7 отростками 10 перемещает зажимные устройства при-

способленпй по вертикали, а отростками / - по горизонталп. При последовательной подаче сжатого воздуха в верхнюю или нижнюю полости пневмокамеры диафрагмы 2 со штоком 8 движутся вниз нли вверх и отростками 10 или / рычагов 7 перемещают зажимные устройства приспособлений при зажиме и разжиме деталей, обрабатываемых на станке. Пневмокамера с двумя рычагами 7 может одновременно обслуживать два приспособления, так как каждый рычаг присоединяется к одному приспособлению. Последовательная подача сжатого воздуха в верхнюю или нижнюю полость пневмокамеры производится распределительным краном 4 при повороте рукоятки 5 вправо или влево.

На рис. V.14, б даны примеры применения приставной диафрагменной пневмокамеры двустороннего действия с рычажным усилителем для перемещения зажимных устройств приспособлений при зажиме и разжиме обрабатываемых деталей. При перемещении вверх нли вниз диафрагм (рис. V.14, а) со штоком 8 рычаги 7 отростками 10 или / поворачивают на оси прихваты 12 (рис. V.14, б) при зажиме и разжиме обрабатываемых деталей .

Приближенно сила Q на штоке пневмокамеры двустороннего действия с двумя тарельчатыми диафрагмами (рис. V. i4, а) и рычагом-усилителем:

Q = Q,mn\D-\-dfpi,

где D - диаметр диафрагм внутри пневмокамеры, см; d - диаметр опорного кольца (штока), см; р - давление сжатого воздуха МПа (кгс/см2); t - передаточное отношение плеч рычага-усилн-теля.

Моменты относительно оси поворота рычага-усилителя равны. Из равенства моментов определяют силу зажима W детали, развиваемую короткими плечами 10 или / рычага-усилителя:

откуда

W=Qlyl.

[мм]

Ход штока длинного плеча рычага-усилителя 7 пневмокамеры

I = 0,3D.

Ход короткого плеча 10 или / рычага-усилителя 7

x = Ll;li.

Пневмокамеры по сравнению с пневмоцилиндрами имеют ряд преимуществ: 1) более просты по конструкции и стоят дешевле; 2) требуют меньшей точности изготовления и чистоты обрабатываемых поверхностей деталей; 3) при нормальных условиях экс-4-2684 97



плуатации диафрагмеиные пневмокамеры выдерживают до износа 600 000 включений, а уплотнения деталей пневмоцилиндра - значительно меньше; 4) у пневмокамер одностороннего действия отсутствует утечка воздуха, а у пневмокамер двустороннего действия уплотнение применяют только на штоке.

Недостатками пневмокамер являются небольшая величина перемещения диафрагмы со штоком и уменьшение усилия на штоке пневмокамеры при его перемещении из исходного в конечное положение.

Пневмокамеры применяют в тех случаях, когда требуется небольшой ход штока и небольшая осевая сила на штоке пневмокамеры.

Вспомогательная аппаратура пневматических приводов. Для

надежной работы приспособлений с пневматическим приводом в сеть подвода сжатого воздуха включают ряд приборов. Для последовательной подачи сжатого воздуха в полости пневмоцилиндра применяют распределительные краны с ручным управлением и воздухораспределители автоматического действия.

Регулирование давления сжатого воздуха в цилиндре производится регуляторами давления. Изменение скорости перемещения поршня в цилиндре осуществляется дросселями. Торможение поршня в конце рабочего хода выполняют тормозные золотники.

Чтобы обеспечить постоянное давление сжатого воздуха в пневмоцилиндре при резком уменьшении давления в сети, применяют обратные клапаны и реле давления. Очистка сжатого воздуха, поступающего из сети в цилиндр, от влаги и механических примесей производится влагоотделителями с фильтрами. Для смешивания сжатого воздуха с распыленным маслом применяют пневматические масленки. Пневмопривод подключают к цеховой пневмо-сети через вводные крапы.

Комплект необ.ходимой пневмоаппаратуры в зависимости от конструкции пневмопривода молет меняться. Минимальный комплект пневмоаппаратуры для любого пневмопривода: распределительный кран, Елагоотделитель и маслораспылитель.

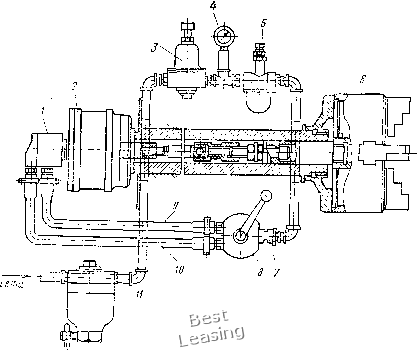
На рис. V.15 показана схема присоединения пневмопривода с вращающимся пневмоцилиндром 2 к воздушной сети и патрону 6, установленному на шпинделе токарного станка. Из воздушной цеховой сети сжатый воздух подают в воздушный фильтр , затем по трубопроводу - в регулятор давления 3 с манометром 4, масленку 5 для распыления масла, обратный клапан 7, распределительный кран S и по воздуховодам 9 или 10 -в невращающую-ся воздухоподводящую муфту /. Переключая кран 8, сжатый воздух последовательно подаютв правую или левую полость пневмоци-линдоа 2 двустороннего действия.

Фильтры-влагоотделители воздушные (ГОСТ 17437-72) применяют для очистки сжатого воздуха, поступающего из сети, от влаги и механических примесей. Поступающий внутрь влагоотде-лителя сжатый воздух мгновенно расширяется и охлаждается. Сконденсированные водяные пары капельками оседают на стенках

его резервуара и затем удаляются при его заполнении. По ГОСТ 17437-72 эти устройства изготовляют трех типов: 1-центробежного действия, без фильтрующего элемента; 2 - центробежного дей-ствия с фильтрующим элементом; 3 - контактного действия с резьбовым креплением.


ИзВозоушит

Рнс. V.15. Схема пневмопривода с вращающимся цилиндром, закрепленным

на заднем конце щпннделя станка

Конструкция И работа фильтра-влагоотделителя показана на рис. V.16, а. Сжатый воздух из сети через отверстие П проходит в стакан 2 через щели отражателя 9 и получает движение по спиральному пути. Капельки воды, содержащиеся в потоке сжатого воздуха в свободном состоянии, под действием центробежных сил отбрасываются на поверхность стакана 2 и затем стекают в нижнюю часть стакана 2, отделенную от остальной его части заслонкой 5. Осушенный воздух проходит через фильтр 4, очищается от механических примесей и поступает к выходному отверстию О. Удаление накопившейся влаги и механических примесей из стакана 2 происходит через запорный клапан 9 под действием сжатого воз-Духа. Для регулирования давления в полости пневмопривода применяют диафрагмеиные и поршневые регуляторы давления, кото-



рые регулируют давление в полости цилиндра при его настройке и затем автоматически поддерживают принятое давление.

Регуляторы давления с резиновой диафрагмой имеют более простую конструкцию и высокую надежность в работе в сравнении с поршневыми регуляторами. Регулятор давления типа В57-1 показан на рис. V.16, б. Сжатый воздух подается к штуцеру через резьбовое отверстие П в корпусе 8. При впуске сжатого воздуха пружина 2 через толкатель 7 отжимает клапан 6 от плоскости корпуса и в образовавшийся кольцевой зазор между резиновой шайбой

ПсдЗод

сг,<атого-»~ \

Воздуха

Г-1"


Рис. V.16. Влагоотделитель типа В41-1 (а) и регулятор давления типа В57-1 (б)

4 клапана и торцом центрального отверстия корпуса воздух попадает в отверстие О, а затем в воздухопровод системы. Одновременно сжатый воздух через отверстие К поступает в полость М и, ка-жимая на диафрагму 3, уравновешивает силу давления пружины 2. При уменьшении давления сжатого воздуха в системе, к которой подключен выходным отверстием О регулятор, ниже установленной величины указанное равновесие нарушится. Диафрагма 3 под действием пружины 2 прогнется и через толкатель 7 отожмет клапан 6, увеличив поступление сжатого воздуха из отверстия П в выходное отверстие О. Клапан 6 будет открыт, пока давление в выходном отверстии О и в полости М не повысится до заданной велнчи-

ны, и диафрагма 3, сжимая пружину 2, выпрямится. Следовательно, давление на выходном отверстии О регулятора поддерживается постоянным и соответствует силе пружины 2. Заданное давление сжатого воздуха на выходном отверстии О регулируется винтом I, сжимающим пружину 2. Когда пружина.2 разжата, клапан 6 с резиновым кольцом 4 под действием пружины 5 перекрывает проход воздуха из отверстия П в отверстие О. Для лучшего уплотнения в клапан 6 установлено кольцо 4 из маслостойкой резины. Основные

Полость К


Рис. V.17. Маслораспылитель типа В44-2

параметры и размеры регуляторов (ииевмоклапанов) регламентированы ГОСТ 18468-73.

Маслораспылитель. Он включается в пневмосеть перед распределительным краном. Сжатый воздух, проходя через маслораспылитель, насыщается распыленным маслом для смазки трущихся поверхностей деталей пневмоцилиндра. Следует применять маслорас-пылители не с одинарным, а с двойным распылением, так как в этом случае образуются более мелкие частицы распыляемого масла и поэтому происходит лучшая смазка пневмоцилиндра.

На рис. V.17 показан маслораспылитель типа В44-2. Сжатый воздух из магистрали подается к штуцеру, ввинченному в резьбовое отверстие П в корпусе 3. В маслораспылителе поток воздуха разделяется на основной поток, идущий через кольцевой канал Е к выходному отверстию О, и меньший поток, идущий через каналы а, б и е.



0 1 2 3 4 5 6 7 8 9 10 11 12 13 14 [ 15 ] 16 17 18 19 20 21 22 23 24 25 26 27 28 29 30 31 32 33 34 35 36 37 38 39