Промышленный лизинг Промышленный лизинг  Методички 

0 1 2 3 4 5 6 7 8 9 10 11 12 13 14 15 [ 16 ] 17 18 19 20 21 22 23 24 25 26 27 28 29 30 31 32 33 34 35 36 37 38 39

При полном открытии дросселя 4 давление в резервуаре 6 под масло и в полости К одинаково, поэтому образования масляных капель не происходит. При перемещении дросселя 4 давление в полости К станет меньше, чем в резервуаре 6, поэтому масло поднимается по трубке 7, отжимает шарик 8 от входного отверстия втулки 9 и поступает в трубку . В зоне Р распылителя (после кольцевого канала) происходит уменьшение давления и масло высасывается из трубки , проходит через небольшое отверстие распылителя 1 и распыляется в потоке сжатого воздуха. Более тяжелые частицы масла падают на поверхность масла в резервуаре 6, а легкие вследствие местного понижения давления в зоне В вместе с потоком воздуха идут через отверстие в в корпусе к выходному отверстию О. Частицы масла, попадая в основной поток сл<атого воздуха, проходят вторичное распыление, поэтому для смазки пневмосистемы поступают только мельчайшие его частицы.

Расход масла регулируется дросселем 4. При закрытом дросселе разность давления в резервуаре бив полости К будет наибольшей и расход масла тоже будет наибольший. Шарик 8 препятствует понижению уровня масла в трубках 7 и 11, когда сжатый воздух через маслораспылитель не проходит. Резервуар 6 заполняется маслом через пробки 10 до уровня, обозначенного на резервуаре линией. Прозрачный колпачок 12 обеспечивает визуальное наблюдение за каплепадением в маслораспылителе.

Распределительные краны. Они служат для поочередной подачи сжатого воздуха в полости пневмоцилиндра или пневмокамеры и выпуска в атмосферу отработанного сжатого воздуха.

В зависимости от числа рабочих позиций рукоятки и числа каналов для перемещения сжатого воздуха распределительные краны разделяются на:

однопозиционные трехходовые для подачи сжатого воздуха в одну полость пневмоприводов одностороннего действия;

двухпозиционные четырехходовые для последовательной подачи сжатого воздуха в обе полости пневмоприводов двустороннего действия;

трехпозиционные многоходовые для одновременного управления последовательной работой двух пневмоприводов.

Распределительные краны бывают с плоским, цилиндрическим и коническим золотником. Наиболее простыми по конструкции и надежными в работе являются двухпозиционные четырехходовые краны с плоским золотником.

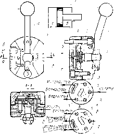
На рис. V.18 показан двухпозиционный четырехходовой кран с плоским золотником (типа В71-2). Кран состоит из чугунного корпуса 6, крышки 2, плоского золотника 5, валика 7, установленного в крышке и соединенного с золотником, рукоятки 1, закрепленной на валике, и пружины 4, прил<имающей золотник к крышке.

Золотник крана при повороте поочередно соедиияет полости пневмоцилиндра с сетью сжатого воздуха или с атмосферой. Крышка крана имеет четыре отверстия: через отверстие д сжатый воздух поступает из сети; отверстия а и б крышки через отверстие в

золотнике соединяют соответственно полости Л и 5 пневмоцилиндра с воздушной сетью; отверстие в через дуговой паз золотника- полости пневмоцилиндра с атмосферой.

При вращении рукоятки / вправо валик 7 повернет золотник 5 в полол<ение, показанное на рис. V.18 вверху. При таком положении золотника сжатый воздух из сети проходит через отверстие д в крышке, которое совмещается с отверстием д золотника, а отверстие а в золотнике-с отверстием а в крышке 2, и воздух из сети, поступая в полость Г под золотником и по воздухопроводу поступает в полость А пневмоцилиндра 3. В то же время отработанный воздух из полости Б пневмоцилиндра по воздухопроводу подводится к отверстию б в крышке 2 и, пройдя глухой дуговой паз в золотнике, через отверстие в в крышке уходит в атмосферу. При повороте рукоятки / влево валик 7 повернет золотник в положение, показанное на рис. V.18 внизу. Сжатый воздух из сети проходит через отверстие д в крышке, отверстия г я б в золотнике, отверстие б в крышке и по трубопроводу поступает в полость Б пневмоцилиндра 3. Одновременно отработан- иый воздух из полости А пневмоцилиндра по воздухопроводу проходит в отверстие а в крышке 2 и, пройдя глухой дуговой паз в золотнике 5, через отверстие s в крышке уходит в атмосферу. При вертикальном положении рукоятки подача сжатого воздуха не пропсходит. I

\J § V.2. Гидравлические приводы

Гидравлический привод -это самостоятельная установка, состоящая из электродвигателя, рабочего гидроцилиндра, насоса для подачи масла в цилиндр, бака для масла, аппаратуры управления и регулирования и трубопроводов. В зависимости от назначения и мощности гидравлический привод может обслуживать одно приспособление, группу из трех - пяти приспособлений на нескольких станках или группу из 25-35 приспособлений, установленных на различных станках.


\ fl3 сепи

Рис. V.18. Двухпозиционный четырехходо-вый распределительный кран с плоским золотником



4- 4


Приспособление


Рис. V.19. Схема группового гидропривода для одновременного обслуживания 25-35 приспособлений

На рис. V.19 дана схема групповой гидроаккумуляторной установки, которая может обслуживать 25-35 приспособлений (показаны только три приспособления, установленные на различных станках). Объединенная гидроустановка состоит из двух самостоятельных гидроприводов, каждый из которых имеет самостоятельный маслопровод. Практически работает только один гидропривод, а второй является запасны.м и используется при выходе из строя первого или его ремонта. Установка смонтирована из нормализованных узлов.

На баке / установлена вся гидро- и электроаппаратура; на передней части бака на пдитке установлена электроаппаратура. Каждый из двух гидроприводов состоит из электродвигателя 2, гидронасоса 3 производительностью 12 л/мин, предохранительного клапана 4, обратного клапана 5, гидроаккумулятора 7, манометра 6, реле давления 9, магнитных пускателей 8 и трубопроводов. Электродвигатель 2 (Л/=1,7 кВт) приводит в действие гидронасос 3, который подает масло через обратный клапан 5 в гидроаккумулятор 7 и гидросеть под давлением 5,0 МПа (50 кгс/см). Предохранительный клапан 2 при увеличении давления масла в гидросети спускает масло в бак /.

Гидроаккумулятор 7, поддерживающий постоянное давление масла в гидросети, состоит из цилиндра с крышками, в котором находится поршень. Правая полость гидроаккумулятора заряжается из баллона сжатым воздухом под давлением 3-4 МПа (30- 40 кгс/см). После зарядки гидроаккумулятор подключается к гидросети и в его левую полость насос 3 нагнетает масло под давлением 5,0 МПа (50 кгс/см2). Под давлением масла поршень гидроаккумулятора перемещается вправо и повышает давление сжатого воздуха в его правой полости до давления 5,0 МПа (50 кгс/см).

Прн уменьшении давления масла в гидросети сжатый воздух в правой части гидроаккумулятора перемещает поршень влево, пока давление масла в левой полости сравняется с давлением сжатого воздуха в правой полости и, следовательно, давление масла в гнд-росетн будет выравнено.

Реле давления 9 отключает электродвигатель 2 с насосом при давлении масла больше 5,0 МПа (50 кгс/см) и включает его в работу при давлении меньше 4,5 МПа (45 кгс/см). Оно состоит из гидроцилиндра с поршнем и штоком, который соединен с контактом магнитного пускателя 8. На всех приспособлениях, обслуживаемых гндроаккумулярной установкой, имеются гидропанели 10 и распределительные краны и, которые поочередно подают масло в полости гидроцилиндров приспособлений.

Гидропанель (рис. V.20) состоит из гидроаккумулятора 4 с воздушным клапаном 5 и манометром 3, масляного обратного клапана 2 и двух запорных кранов I. Запорные краны отключают гидросеть приспособления от основной сети. Гидроаккумулятор 4 и масляный обратный клапан 2 поддерживают требуемое давление в полостях гндроцилиндра приспособления.




Рис. V.20. Схема гидро- Рис. V.21. Схема установки гидропривода на то-панели карпом станке


Рис. V.22. Лопастной гидроцилиндр (а) и схема работы гидравлического

привода (б)

На рис. V.21 дана схема установки гидропривода на токарном станке. Гидропривод представляет собой гидроагрегат 1, состоящий из электродвигателя, лопастного насоса, бака для масла, маслопроводов 2, гидроцилиндра 3, шток которого через тягу и промежуточные звенья перемещает кулачки 5, патрона 4 и распределительного крана 6.

На рис. V.22, а, б приведены соответственно конструкция лопастного гидравлического цилиндра и схема работы гидропривода. Лопастной гидроцилиндр установлен на левом конце шпинделя токарного станка и вращается вместе с ним. Гидроцилиндр 8 состоит из статора (корпуса) / с упором 2, крышками 7 и /О и одно-лопастного ротора 3 с лопастью 4, закрепленного шпонками на гайке 9. Гайка установлена в статоре на конических роликоподшипниках 13 и связана с винтом ; в правый его конец ввинчена тяга 12, которая через промелуточные звенья перемещает кулачки патрона при зажиме и разжиме детали. При подаче масла в одну из полостей статора / ротор 3 с лопастью 4 поворачивается до упора 2 и вращает гайку 9, которая перемещает винт 11 с тягой 12 вправо или влево. Винт , перемещаясь в шлицевом отверстии крышки 10, не вращается. Масло из резиновых шлангов подается через отверстие в приемную невращающуюся муфту 5, установленную на шарикоподшипниках, сидящих на валу 6, который запрессован в крышку 7. Вал 6 имеет каналы для прохода масла в одну из полостей статора. Гидроагрегат с электродвигателем и насосом включают только во время остановки станка, а сила залима детали кулачками патрона сохраняется при обработке детали вследствие самотор-мол{е}И1я винтовой пары: гайки 9 и винта .

На рис. V.22, б показана схема работы гидропривода. При перемещении рукоятки 5 в крайнее положение переключается золотник 4 и включается электродвигатель насоса 2. Масло из бака / но трубопроводу через лопастной насос 2, работающий от электродвигателя, и трубопроводу 3 под давлением 6,5 МПа (65 кгс/см) подается в золотник 4. Из него масло по трубопроводам 7 поступает в правую или левую полость лопастного цилиндра 8. При подаче масла в правую полость цилиндра лопасть с ротором 9 поворачивается до упора 10 и вытесняет масло из левой полости. Масло через левый трубопровод 7, золотник 4 по трубопроводу 14 стекает в бак /. При переключении рукоятки 5 золотника 4 в другую сторону масло поступает в левую полость цилиндра 8, а из его правой полости и золотника 4 по трубопроводу 14 сливается в бак /. Масло, которое просочилось из золотника 4, отводится по трубопроводу 13 в бак. Необходимое давление масла в гидросистеме регулируется клапаном 12 и определяется манометром 6. Все подшипники качения смазываются маслом, которое скапливается от утечки в прикрепленном к муфте 5 кожухе 8 (рис. V.22, а) и по маслопроводу 11 отводится в бак / (рис. V.22, б). Данный гидропривод может через тягу и промежуточные звенья производить перемещение кулачков в рычажных и клиновых патронах токарных станков.



0 1 2 3 4 5 6 7 8 9 10 11 12 13 14 15 [ 16 ] 17 18 19 20 21 22 23 24 25 26 27 28 29 30 31 32 33 34 35 36 37 38 39