Промышленный лизинг Промышленный лизинг  Методички 

0 1 2 3 4 5 6 7 8 9 10 11 12 13 14 15 16 17 18 19 20 21 22 [ 23 ] 24 25 26 27 28 29 30 31 32 33 34 35 36 37 38 39

силы резания Рг, Ро -осевая сила, возникающая при обработке детали.

Момент Мтр и силу Ртр можно определить еще и другим способом:

М,р=/ркйЧ 2; Р,р= fpKdl,

где / = 0,1-j-0,12 -коэффициент трения между поверхностями детг-ли и оправки; /? -удельное давление на поверхностях сопряжения детали и оправки, МПа (кгс/см).

Допуск на изготовление оправки диаметром 80-100 мм принимают бз = 0,01 мм, а допуск на износ 64 = 0,01-0,012 мм.

Центровые цельные конические оправки изготовляют из мало, углеродистых обычных и легированных сталей с цементацией рабочих поверхностей и закалкой до твердости HRC 58-62.

§ VI.6. Люнеты

Люнеты применяют как дополнительные опоры для у.меньшения прогиба длинных деталей при l>\2d, обрабатываемых на токарных и шлифовальных станках [/ - длина детали; d - наибольший диаметр детали].

По конструкции люнеты разделяют на универсальные и специальные, по способу установок на станке - на неподвижные и подвижные.

Универсальные люнеты с раздвижными кулачками применяют при обработке деталей с разными диаметрамп. Специальные люнеты применяют для обработки партии деталей одного размера или для поддержания приспособления, установленного на шпинделе станка с большим вылетом. Универсальные люнеты устанавливают или на станке (неподвижные), или на каретке станка, с которой они перемещаются (подвижные).

На рис. VI.9 показан неподвижный универсальный люнет В. К. Семинского. В корпусе 4 люнета вместо кулачков установлены два шарикоподшипника 5. В отверстие крышки 6 вставлен валик 9 с пружиной, на конце которого подвижно закреплена серьга с двумя шарикоподшипниками 5. При закреплении обрабатывае*


Рис. VI.9. Неподвижный универсальный люнет

мого вала 7 опускают крышку 6 люнета и гайкой 8 регулируют положение валика 9. Затем рукояткой 1 поворачивают эксцентрик 2, в спиральный паз которого входит штифт 3, установленный в крышке 6, и крышка перемещается к центру люнета. При этом пружина 10 прижмет серьгу 11 с верхними подшипниками 5 к валу 7 и он зажимается между верхними и нижними подшипниками люнета.

§ VI.7. Универсальные кулачковые патроны

Кулачковые патроны применяют для установки и зажима различных деталей, обрабатываемых на токарных и шлифовальных •станках. В зависимости от количества кулачков патроны разделяются на двух-, трех- и четырехкулачковые. Они бывают с ручным и механизированным приводом. Патроны бывают самоцентрирующими и с независимым перемещением кулачков, универсальными и специальными.

Имеется четыре класса точности патронов: Н - нормальной; П - повышенной; В - высокой; А - особо высокой точности. Технические требования на токарные патроны общего назначения даны в ГОСТ 1654-71.

Двухкулачковые патроны. Такие патроны применяют для установки и закрепления деталей по некруглой поверхности или фасонной поверхности. Их изготовляют с ручным приводом, со спирально-реечным и винтовым механизмами (ГОСТ 14903-69), с клиновым центрирующим механизмом (ГОСТ 16866-71) и клинорычажного типа (ГОСТ 16682-71). Работают они от механизированного яривода, закрепленного на заднем конце шпинделя токарного или токарно-револьверного станка.

Двухкулачковые патроны крепятся на переднем конце шпинделя станка с помощью промежуточного фланца или к фланцевому концу шпинделя станка.

Универсальный двухкулачковый патрон. Двухкулачковый самоцентрирующий клинорычажный механизированный патрон (ГОСТ 16682-71), показанный на рис. VI. 10, закреплен па шпинделе станка с помощью переходного фланца. При вращении патрон предохраняется от самоотвинчивания пружинным стопором 3, установленным в гайке 2, которая закреплена на винте 1 стопором 12. Винт 1 резьбой соединяется с тягой штока пневмопривода и служит для регулирования радиального перемещения кулачков. Кулачки 9 перемещаются к оси патрона под действием рычагов 7, сидящих на штифтах 8 и опирающихся на цилиндрические поверхности 6 корпуса 5 патрона.

При перемещении в пневмоцилиндре поршня со штоком слева направо через винт / и наклонные плоскости муфты 4 кулачки 9 разводятся и деталь разжимается. К кулачкам 9 крепятся винтами 10 сменные губки И.

Универсальные трехкулачковые самоцентрирующие патроны с ручным зажимом торцовым ключом. Такие патроны применяют для установки и зажима по цилиндрической поверхности различных



деталей в серийном и единичном типах производства. Модели СТ-80 СТ-630 таких патронов разработаны ЭНИМСом в соответ-ствии с ГОСТ 2675-71.

Тип Б


Рис. VI.10. Универсальный двухкулачковый патрон

/ 2 3j!£.


Рнс. VI.11. Трехкулачковый спнральио-реечный самоцентриру10?

щий патрон

Небольшое применение имеют универсальные трехкулачковые спирально-реечные патроны. На рис. VI.11 дан трехкулачковьш сЦально-реечный самоцентрирующий патрон с ручным зажимом, закрепляемый на резьбовом конце шпинделя токарного станка.

В корпусе / патрона расположен диск 2, имеющий на одном торце коническое зубчатоеколесо, а на другом - спиральные ре-•ечные пазы, находящиеся в зацеплении с рейками 3.

В крестообразном пазу реек 3 винтами 4 устанавливают и закрепляют прямые или обратные накладные кулачки 5. При вращении торцовым ключом одного из трех конических зубчатых колес 6, находящихся в зацеплении с коническим колесом диска 2, последний поворачивается и перемещает рейки 3 с кулачками 5 к оси патрона при зажиме детали и от оси - при ее разжиме. Крышка 7 удерживает диск 2 в корпусе патрона от продольного смещения и препятствует попаданию в патрон стружки и грязи.

Некоторые патроны изготовляют с цельными прямыми и обратными кулачками с нарезанными на их торцах рейками для непосредственного сопряжения со спиральными пазами диска 2. Недостаток этих патронов состоит в том, что радиусы кривизны на различных участках спирали диска 2 различны, а радиус реек 3 кулачков одинаков, поэтому соприкосновение реек 3 с витками спирали диска 2 происходит не по всей поверхности, а по небольшим (узким) участкам.

При неполном зацеплении витков спирали диска с рейками кулачков возникают высокие удельные давления в сопряжении и происходит значительный износ центрирующего механизма и потеря точности патрона. Для повышения износоустойчивости применяют закалку и шлифование витков спирали диска и реек кулачков патрона.

Универсальные четырехкулачковые патроны. Эти патроны применяют для установки и зажима деталей некруглой формы, обрабатываемых на токарных, револьверных, сверлильных станках в единичном и серийном типах производства.

Конструкция четырехкулачковых патронов с независимым ие-ремещеннем кулачков ключом разработана (ГОСТ 3890-72) четырех классов точности Н, П, В, А и двух типов А - для крепления на фланцевые концы шпинделей и Б - для крепления на резьбовые концы шпинделей через промежуточные фланцы.

Токарные четырех-кулачковые патроны выпускаются моделей ТН-160 -ТН-1000.

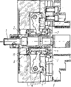
На рис. VI. 12 показан универсальный четырехкулачковый патрон с механизированным приводом для перемещения кулачков к оси и от оси патрона.

Каждая пара противоположно установленных кулачков подводится и отводится от поверхности обрабатываемой детали последовательно, для равномерного зажима детали всеми кулачками.

Пневхмопривод расположен на заднем конце шпинделя станка. При перемещении поршня со штоком в пневмоцилиндре влево шток через тягу и винт / передвигает втулку 2 вдоль оси. При этом втулка 2 вместе с втулкой 10, закрепленной на резьбе втулки 2, воздействуют на плавающие секторы 3 ч 9, которые перемещают втулки 4 я 5 с диаметрально расположенными пазами для установки в нпх длинных плеч рычагов 8. Каждая втулка 4 я 5 поворачи-



вает только одну пару рычагов 8. Втулки 4 и 5 под действием плавающих секторов 3 и 9 перемещаясь влево, поворачивают рычаги 8 на осях, и короткие плечи рычагов 8 перемещают основные кулачки 7, вспомогательные кулачки 6 к оси патрона, и деталь зажимается.

При перемещении поршня со штоком в пневмоцилиндре вправо шток через тягу и винт 1 передвигает втулки 2 н W, и они через

плавающие секторы 3 я 9 смещают втулки 4 я 5 вправо. Тогда втулки поворачивают длинные плечи каждой пары р-ычагов 8 вправо, а короткие плечи рычагов 8 разводят кулачки 6 я 7, я деталь разжимается. Зажим и разжим детали каждой парой кулачков производится последовательно с помощью плавающих секторов 9 или 3, перемещающихся перпендикулярно относительно оси патрона.

Трехкулачковые самоцентрирующие патроны с механизированным приводом. Наибольшее применение имеют трехкулачковые клиновые (ГОСТ 16886-71) и рычажно-клиновые (ГОСТ 16862- 71) патроны с механизированным приводом для перемещения кулачков. Эти патроны используют в крупносерийном и серийном типах производства для закрепления деталей, обрабатываемых на различных токарных и револьверных станках. В зависимости от конструкции центрирующего механизма такие патроны с механизированным приводом подразделяют на рычажные, ры-чажно-винтовые, рычажно-кл!П10вые, клиновые и спирально-реечные. При переналадке патронов необходимо установить и закрепить накладные кулачки на требуемый размер обрабатываемой детали.

На рис. VI. 13 показан трехкулачковый рычажный патрон с механизированным приводом для перемещения кулачков при зажиме и разжиме деталей, обрабатываемых на токарных и револьверных станках. Пневмопривод, закрепленный на фланце, установленном на заднем конце шпинделя токарного станка, состоит из пневмоцилиндра 4, в котором размещается поршень 8 со штоком 9, крышки 3, в отверстие которой запрессован хвостовик 1, я невращающейся


Рис. VI. 12. Универсальный четырехкулачко-вый патрои с механизированным приводом


§ т S

о, с о S



0 1 2 3 4 5 6 7 8 9 10 11 12 13 14 15 16 17 18 19 20 21 22 [ 23 ] 24 25 26 27 28 29 30 31 32 33 34 35 36 37 38 39