Промышленный лизинг Промышленный лизинг  Методички 

0 1 2 3 4 5 6 7 8 9 10 11 12 13 14 15 [ 16 ] 17 18 19 20 21 22 23 24 25 26 27 28 29 30 31 32 33 34 35 36

некоторого предела (рис. 39), после чего вновь возрастает. Ми« нимальниму значению интенсивности изнашивания соответствует оптимальное содержание наполнителя в материале. Наиболее д J износостойкой является компо-

зиция с содержанием ситал-ла 10-20% и 1-2% дисульфида молибдена марки Ф40С15М1,5. Для этой композиции допускаемое давление составляет 10-15 кгс/см и коэффициент трения 0,25-0,35 при сухом трении. На рис. 40 показана зависимость интенсивности изнашивания материалов на основе фторопласта-40 от давления при трении по стали 12Х18Н10Т без смазки, откуда видно, что металлические наполнители (бронза) и ситалл обеспечивают композиционным материалом более высокую нагружаемость, чем твердре смазки (графит и дисульфид молибдена). Допускаемые давления [р] и скорости скольжения [v\ для изученных марок

W 20 30 АО 50 60 70 Содержание наполнителя,%

Рис. 39. Зависимость интенсивности изнатииапмя fq наполненного фторопласта-40 при сухом трении по стали Ш.\15 от содержания наполнителя:

1 -дисульфида мотибдена; 2-графита; 3-снталла, 4 -бронзы

25 pmcjci

Рис. 40. Зависимост] интенсивности изнйшивания 1ц материалов н i основе фторонласта-40 от давления р при трен1и без смазки по стали 12.К18Н10Т:

/ -Ф40; 2-Ф40М30; 5-Ф40Г20; 4 -Ф40С15М1.5; 5-Ф40Б70

фторопластовых композиций следующие: Ф40 Ф4)Г20 Ф40М30

!р], кгс/см . . .4,5 г], м/с.....0,6

Ф40Б70

20 1

Ф40С15М1,5

15 1

Допускаемая температура окружающей среды составляет от -60 до -f200°C, а рабочая температура не превышает 160-

180 °С. Износ фторопластовых композиций уменьшается с улучшением отвода тепла из зоны трения, в том числе и при искусственном охлаждении. При правильном применении организованный теплоотвод является средством увеличения срока службы узла трения.

Фторопластовые материалы, наполненные графитом, дисульфидом молибдена, ситаллом наиболее эффективны для подшипников при подаче в зону трения воды или других жидкостей, способных охлаждать трущиеся поверхности. В этом случае коэффициент трения резко снижается, а допускаемые давления

0,12 0/10 0,08 0,06

0,04 0,02

10 20 30 40 50 60 70 80 90 100 т р,кгс1сп

Рис. 41. Зависимость коэффициента трения / от давления р материалов на основе фторопласта-40 при трении по стали 12Х18Н10Т со смазкой

водой:

У-Ф40В70; 2-Ф40; <3-Ф40Г20; 4-Ф40ЛШ; 5-Ф10С15М1,5

возрастают в десятки раз. Изменение коэффициента трения от давления при трении фторопластовых композиций по стали 12Х18Н10Т со смазкой водой показано на рис. 41. Коэффициент трения составляет 0,02-0,04. Допускаемые давления [/?] и скорости скольжения [о] при смазке водой следующие:

\р], кгс/см [v], и/с. . .

. 55 . 4

Ф40Г20

115 5

Ф40М30

100 5

Ф40Б70 Ф40С15М1,5

70 7

150 7

Наполненные фторопластовые композиции применяются для изготовления подшипников, работающих в агрессивных жидко» стях, из-за высокой химической стойкости.

Химическую стойкость фторопластовых композиций, в основном определяет наполнитель. Фторопласт-40 набухает в 98%-ной азотной и плавиковой кислотах и царской водке, в ацетоне и серном эфире. Результаты испытаний, большая часть которых проведена непосредственно на химических комбинатах в техноч



логических средах химических производств, показывают, что в большинстве химических сред композиционные материалы на основе фторопласта-40 оказались стойки, что позволило рекомендовать их для узлов трения машин и аппаратов химической промышленности [19, 21]. К ним относятся насосы для перекачивания сжиженных газов при низких и криогенных температурах, приводы перемешивающих устройств реакторов и герметические приводы аппаратов, компрессоры, работающие без смазки и другое оборудование. Широкое применение нашли фторопластовые композиции для подшипников насосов, перекачивающих радиоактивные жидкости, благодаря высокой радиационной стойкости фторопласта-40 в сравнении с другими марками фторопластов.

Фторопласт-4 неустойчив к радиационному облучению, его механические свойства под действием у- и р-излучения падают, а при дозе 5*10 рад он становится хрупким и разрушается* Подшипники из фторопласта-4 не применяются в условиях проникающей радиации. Исследования физико-механических свойств фторопластовых композиций на основе фторопласта-40 при воздействии радиационного облучения [57], а также промышленные испытания подшипников в насосах атомных электростанций показали высокую надежность оборудования и расширили область их применения.

К недостаткам наполненных фторопластовых композиций для подшипников следует отнести недостаточную теплопроводность и склонность к водо- и кислотопоглощению, приводящую к изменению размеров подшипника при работе в агрессивных жидкостях, его разбуханию и изменению зазоров в процессе эксплуатации.

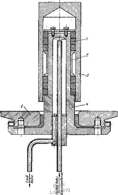
Исследования и конструкции. Фторопластовые подшипники получили широкое распространение в химическом машиностроении со смазыванием агрессивными чистыми жидкостями. Их изготовляют преимущественно в виде сплошной монолитной втулки точением из стандартных заготовок. На рис. 42 показан вкладыш герметичного привода реактора из графитофторопл-ста 7В-2А. С целью защиты от абразивных частиц и лучшего теплоотвода смазывающей жидкостью на внутренней поверхности вкладыша предусмотрены продольные пазы, через которые твердые частицы вымываются из зоны трения. Другой способ защиты фторопластовых втулок от износа абразивными частицами показан на рис. 43, где изображена конструкция подшипника скольжения без смазки Полтавского згавода химического машиностроения для нижней концевой опоры вала мешалки эмалированного реактора. Среда в реакторе агрессивная - комплекс хлористого алюминия (абразив) и фракций бутилбеизола при температуре 60**С. В конструкции втулки под» шип»вка нэ фторопласта-4 укреплена на неподвижной стойке нижней отры реактора, установле»не<й в его днище. Трение эле-

нентрв опоры осуществляется в полости внутри вала. Охлаждение принудительное через стойку нижней опоры проточной 1одой.

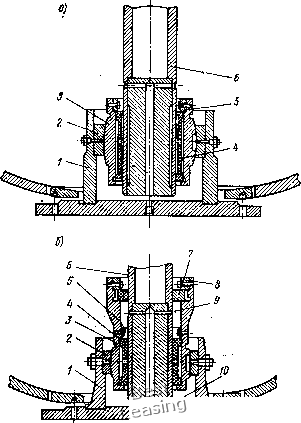
На рис. 44 показана нижняя опора вала мешалки крупнога-Раритного эмалированного реактора, предназначенная для работы при повышенных ifacTorax вращения вала {п = 200-* 1000 об/мин) со смазкой рабочей средой реактора, не содержа-


Вид 6


Рис. 42. Вкладыш из графитофторопласта 7В-2А

щей абразивных взвесей (рис. 44, а) и с принудительной подачей смазывающей жидкости, попадание которой в реакционную зону реактора допустимо (рис. 44,6). В этом случае рабочая среда реактора может содержать абразивные взвеси, так как подшипник установлен в специальной камере, изолирующей его от рабочей среды в аппарате. Опоры имеют в шейке вала осевой и радиальные каналы, которые при вращении вала создают насосный эффект и циркуляцию смазывающей жидкости внутрш подшипника. Авторы [41] исследовали работоспособность р,аз-работанных конструкций с валами мешалок из стали 12!ОТ и стеклоэмалевой шлифованной поверхностью и вкладышами из. фтор.опласта-4, графитофторопласта -АФГ-ЗОВС м другими




Phti 43. Нижняя опора вала мешалки:

- втулка подшипника (фторопласт-4); 2-распорная втулка: 5-тв*л; 4-стойка;

5-днище реактора

материалами со смазыванием водой, бензином, глицерином, трансформаторным маслом, скоростью скольжения 0,3-4,0 м/с, давлением 0,5-6,0 кгс/см при относительном зазоре в подшипнике \j) = 0,0005 0,003. В результате испытаний установлено


Рис. 44. Нижняя концевая опора вала мешаки: а - открытого типа; б - закрытого типа:

/ - корпус подшипника; 2-сферическая разъемйаая обойма; .5-обойма вкладыша подшипника; 4 - вкладыш подшипника; 5-кольцо упорное; б-вал мешаЛки; 7-уплотинтельное плавающее кольцо; S-упорное кольцо; 5, 10-соответственво верхняя и нижняя камеры

Практическое отсутствие износа вкладышей в паре с эмалиро- ванным шлифованным валом при температуре подшипника до 30 X и мощности трения в подшипниках для вале* Д1Ш*етром 80 мм Лтр = 0,006-f-. 0,095 кВт. Концевые опоры . с: о$1йыуди-тельной подачей шаьшвошей жидкости устаноэ-аены в эмали*



0 1 2 3 4 5 6 7 8 9 10 11 12 13 14 15 [ 16 ] 17 18 19 20 21 22 23 24 25 26 27 28 29 30 31 32 33 34 35 36