Промышленный лизинг Промышленный лизинг  Методички 

0 1 2 3 4 5 6 7 8 9 10 11 12 13 14 15 16 17 18 19 20 21 22 23 [ 24 ] 25 26 27 28 29 30 31 32 33 34 35 36

средой являлась азотная кислота в кристаллической пульпе с отношением твердой фазы к жидкой Т : Ж = (0,8 ~- 1,5) : 10. Содержание азотной кислоты в пульпе составляло 20%, размер

кристаллов до 100 мкм, мп температура пульпы 56-> 75 °С.

f2oi Конструкция подшип-

; 0,04

il 0,02

60 %

Ч Q Q W 12 П 1др,мгс1см

Рис. 72. Изменение износа пар трения при трении без смазки в зависимости от давления:

/-ЦМ-332 по ЦМ-332; 5-08 по 08

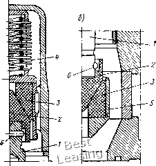
I никовых узлов конического типа из материала СЗ герметичного центробежного насоса показана парне. 73, где на рис. 73, а приведена верхняя опора ротора насоса, а на рис. 73,6 нижняя опора вертикального ротора. Высокие теплостойкость и антифрикционные свойства позволяют использовать материал С8 в верхней опоре без смазывания, правда, при незначительных нагрузках. Нижняя опора смазыва-ется и охлаждается агрессивной жидкостью, в которой могут содержаться абразивные взвеси крупностью до 150 мкм. С це- . лью увеличения срока службы подшипников используется пружинное поджимное устройство вала для его вертикального пермешения по мере износа нижнего подшипника. Возможное осевое перемещение ротора учитывается в конструкции насоса и предусмотрено до 6 мм. Давление в подшипнике составляет 10 кгс/см2, частота вращения вала 1500 об/мин, критерий теплостойкости pv s= 25 кгСмДсмС), потери мощности в опорах

достигают 2,5 кВт. Промышленные испытания насоса в течение более 1600 ч показали, что конструкции подшипников и используемая пара трения С8 по С8 обеспечивают необходимую надежность и долговечность.


Рис. 73. Подшипниковые узлы герметичного центробежного насоса из материала С8:

/-вал; 2-конусная цапфа; 3-вкладыш; 4-пружина; 5-обойма вкладыша; ff-шпонка

11. МИНЕРАЛОКЕРАМИЧЕСКИЕ ПОДШИПНИКИ

Для изготовления подшипников, работающих при высокой температуре, а также в агрессивных средах с абразивными включениями или без смазки, получили распространение мине-ралокерамические материалы. Исходным сырьем для изготовления минералокерамических материалов служат окись алюминия AI2O3 (глинозем по ГОСТ 6912-64), из которой получают корундовую керамику марки ЦМ-332 по ТУ 48-19-282-77 и окиси магния и кремния MgO, Si02, из которых получают стеатитовую керамику марки ТК-21 по ГОСТ 5458-64 (класс 1Ха) и др. Минералокерамические подшипники обладают высокой твердостью, износостойкостью, механической прочностью, стойкостью против воздействия химических сред и высокой температуры. Физико-механические свойства подшипниковых материалов приведены в табл. 39, а химическая стойкость керамических материалов в работе [34].

Втулки подшипников изготавливают прессованием или литьем под давлением формовочной массы с последующей сушкой и обжигом. Механическая обработка производится шлифованием кругами из карбида кремния (предварительное) и алмазными кругами (окончательное) по режимам, приведенным там же. Удовлетворительное качество втулок обеспечивается при отношении диаметра к высоте не более 1 : 3 и длине до 300 мм.

Испытания на изнашивание минералокерамики ЦМ-332 з паре со сталями, проведенные автором на машине трения МИ-1М, показали, что на поверхности трения стальных образцов образуются глубокие риски. На соприкасающихся поверхностях керамических образцов наблюдалось «намазывание> частиц металла, после чего наступал быстрый износ стальных образцов. Образец из минералокерамики ЦМ-332 интенсивно изнашивает стальной образец, срезая микронеровности поверхностного слоя. Это же явление наблюдается во время работы минералокерамических втулок в паре со стальными валами в условиях сухого трения, в том числе с абразивными частицами. По мере износа вала появлялись перекосы втулки, резко возрастала нагрузка и минералокерамическая втулка ломалась.

В условиях жидкостного трения втулки из ЦМ-332 могут быть использованы при работе со стальными валами твердостью не менее HRC 48-50, обработанными тонкой шлифовкой и полировкой. Лучшими смазками являются глицерин, вазелиновое масло, коллоидный графит и его водная суспензия. Удовлетворительные антифрикционные свойства были обнаружены у пары трения стеллит ВЗК по ЦМ-332 при сухом трении: предельное давление до 40 кгс/см и коэффициент трения 0,312, со смазыванием водой давление уменьшается до 8,5 кгс/см (табл. 40). Наилучшие антифрикционные свойства показала одноименная



Таблица 39. Физико-меха»ни<гесккег свойства подшипниковых керамяческкзе

материалов

Материал, марка

; Плотность, г/см

Твер дость, hra

Прочность, КГС;см

Ударная вязкость, кгс м/с м

Модуль упругости

кгс/см

Температура размягчения.

Теплоемкость, кал/°С

Теплопроводность, кал/(с-см«°С)

Коэффициент линейного расширения а«10«, 1/°С

Воло поглощение,

при изгибе

при сжатии

при растяжении

Корундовая керамика ЦМ-332

Стеатитовая керамика ТК-21

Технический ситалл СТЛ

383-3,93 2.65-2,92 2,45-2,54

90-95

70-75

627-870 (микротвердость)

30-45 14-15 10-22,5

300-4оа

250-300 60-100

10-26 4,5-6 8,6-20

0,05-0,12 0,14-0,24

3800 105 7,2-8,5

1700-1750 1250-1360 950-1100

0,206 0,17-0,22

0,046 0,0065 0,0028-0,004

7,9-8,26 8,15-9,9 (-1.25)-(-Ь80)

0,1 0,1

пара трения ЦМ-332 по ЦМ-332. Пару трения ЦМ-332 по ЦМ.-332 применяют в подшипниках, работающих в газовой среде, в дистиллированной воде при 95С, в 65%-ной азотной кислоте при 84-99*С. Без смазки пара трения ЦМ-332 удовлетворительно работает при давлениях, не превышающих 6,18 кгс/см. При повышении давления наблюдается значительное увеличение коэффициента tpeHHn и износа. На долговечность пары влияет точность изготовления деталей (1-2-й классу, шероховатость поверхности (в пределах 10-12-го классов) и сохранение параметров Шероховатости в процессе эксплуатации. Пара трения (ЦМ-332-ЦМ-332) обладает высокими антифрикционными свойствами и несмотря на технологические сложности изготовления (большая усадка при спекании, высокая твердость и необходимость применения алмазной обработки) с успехом применяется в производственных условиях.

Таблица 40. Антифрикционные свойства исследованных пар трения

Материал образца

Коэффициент треиия

Допускаемое давление со смазкой водой, кгс/см

Износ образца со смазкой водой,

вращающегося

неподвижного

без смазки

со смазкой водой

неподвижного

вращающегося

Минералокерамика ЦМ-332

Минералокерамика ЦМ-Э32 Стеллит ВЗК Сталь. 12Х18Н10Т

Сталь 14Х17Н2

0,885

0,312 0,606

0,222

0,132

0,292 0,666

0,405

106,5

8,5 9,4

Практически нет 0.08 0,98

Практически

нет То же

0,16

0.09

На рис. 74 показан нижний подшипниковый узел вертикального электронасоса, радиальные подшипниковые втулки и подпятник которого выполнены из минералокерамики ЦМ-332. Этот подшипниковый узел предназначен для работы как в пусковых режимах сухого и полусухого трения, так и при подаче в него жидкости, перекачиваемой насосом при работе. Подшипниковая пара ЦМ-332 по ЦМ-332 испытыва-лась в подшипниковом узле со смазыванием 60%-ной азотной кислотой при температуре 84- 99 °С. Ревизия насоса, проведенная после испытаний, показала высокую износостойкость подщипников. Однако следует отметить, что на одном из этапов испытаний после промывки насоса холодной водой с температурой 9°С на некоторых кольцах подшипников образовались трещины, и они

разрушились. Это подтверждает мнение о том, что минералокерамика ЦМ-332 не выдерживает резких колебаний температуры, что необходимо учитывать при ее применении. Повышенная хрупкость и склонность к трещинообразованию являются серьезным препятствием для широкого использования минерало-


Рис. 74. Подшипниковый узел с парой трения ЦМ-332 по ЦМ-332:

/ - обойма; 2-втулка обоймы (материал ЦМ-332); 3-кольцо (сталь 12X18H10T); 4-штифт; 5-втулка вала (сталь 12X18H10T); ff-втулка вала (материал ЦМ-332); 7-кольцо (сталь 12X18H10T); пята (материал ЦМ-332); Р -подпятник (материал ЦМ-332)



керамики ЦМ-332 в подшипниках. Их нецелесообразно применять при вибрационных и ударных нагрузках, а втулки необхо-димо устанавливать в металлические обоймы как с механиче-ским креплением, например штифтами, так и путем вклеивания с применением лака Ф-10 (ТУ 6-05-1092-74) или эпоксидных клеев. Металлические обоймы уменьшают концентрации напряжений при действии на керамические детали нагрузок в опоре. n

вместе с тем известны конструкции керамических подшипников из окиси алюминия, применяющиеся и при значительных

вибрационных нагрузках, например в опорах лопастей вертолетов и гидрокрыльев [100]. Их высокий срок службы обеспечивается качественным выполнением вкладышей, надежным креплением керамических деталей в металлических обоймах из нержавеющей стали и применением для смазывания твердого смазывающего вещества на основе дисульфида молибдена.

Конструкция такого подшипника показана на рис. 75. Исходя из условий сборки металлические обоймы выполнены из двух половин, а вкладыш разрезным (2-3 сектора). Сборка осуществляется склеиванием эпоксидным клеем. Во вкладыше предусмотрены сквозные отверстия, заполненные твердой смазкой, состоящей из 90% дисульфида молибдена, 8% молибдена и 2% тантала. Вкладыши со смазочными отверстиями изготавливались из окиси алюминия по следующей технологии: холодное прессование керамического порошка АЬОз с акриловой связкой, сверление отверстий под смазочный материал, механическая обработка, спекание при 1550 °С в воздухе, алмазная разрезка на две половины, алмазная притирка внутреннего отверстия по сфере. Испытания подшипника проводились при колебательном движении вала в воздушной среде с амплитудой 9° и частотой 243 Гц. Нагрузка на подшипник изменялась от +540 до -290 кгс при той же частоте. При испытаниях установлена высокая работоспособность подшипника без задиров и следов изнашивания. Эти же подшипники для опор гидрокрыльев испы-тывались в соленой воде с воздушной пеной. В качестве смазывающего вещества использовалась композ-иция на основе графита. Амплитуда колебательного движения составляла 10" с -частотой 20 Гц, а величина нагрузки изменялась от 70 до 1050 кгс. Испытаниями установлено, что при максимальной на-


Рис. 75. Керамический самоустанавливающийся подшипник:

/-обойма вкладыша;

2 -вкладыш (окись алюминия); 3-сферическая втулка (окись алюминия); 4-обойма втулки



грузке происходит разрушение вкладыша в виде кольцевых трещин от растягивающих напряжений при приложении радиальной нагрузки.

Выполнение керамических подшипников самоустанавливающимися препятствует их разрушению при перекосах вала от кромочных давлений. С этой целью радиально-осевые цилиндрические подшипники из керамики, например в микронасосах, устанавливают в корпусе на резиновые кольца под обе пары ротора. Резиновые кольца позволяют ротору самоустанавливаться за счет своей деформации и препятствуют осевому и радиальному перемещению его в корпусе. На вал насоса керамические втулки крепят с учетом / различного изменения размеров при тепловых расширениях стального вала и керамической втулки. Такие конструкции просты в изготовлении и надежны в эксплуатации.

Стеатитовая минералокерами-ка ТК-21 в парах трения с ха-стеллоем, ферросилидом ЧС-15 и сталью 95X18 используется для вкладышей подщипников, например насосов ЦНГ (рис. 76). Смазкой подшипников служат предназначенные для перекачивания различные агрессивные жидкости с температурой 100°С и давлением в системе не выше 28 кгc/cм (не относящиеся к легковоспламеняющимся -и не содержащие абразивных примесей, за исключением твердых случайных частиц), в которых коррозионно стойки стали марок 10Х17Н13М2Т или 12Х18Н10Т.

Стеатитовую минералокерамику марок ТК-21, СК-1, СПК-2 применяют также для изготовления вкладышей подшипников насосов типа ХГВ. Долговечность подшипника из керамики ТК-21 составляет 2500-3000 ч.

Керамические подшипники для работы в агрессивных средах 41зготавливают также из ситаллов - минералокерамических материалов на основе специального стекла. В отличие от обычного стекла ситаллы имеют микрокристаллическую структуру с мелкими, величиной 0,01 -1,0 мкм кристаллами, равномерно распределенными по объему материала. Наличие мельчайших кристаллов, образующихся по специальной технологии изготовления, повышает механическую прочность стекла. Ситаллы обладают высокой твердостью, термостойкостью и стойкостью к воздействию химических сред. Промышленностью выпускаются технические литиевые ситаллы {СТД, технические магние-

Рис 76. Подшипник скольжения электронасоса:

/-обойма (сталь 12X18H10T); 2-кера-мическая втулка из стеатитовой минералокерамики ТК-21



0 1 2 3 4 5 6 7 8 9 10 11 12 13 14 15 16 17 18 19 20 21 22 23 [ 24 ] 25 26 27 28 29 30 31 32 33 34 35 36