Промышленный лизинг Промышленный лизинг  Методички 

0 1 2 3 4 5 6 7 8 9 10 11 12 13 14 15 16 17 18 19 20 21 22 23 24 25 26 27 28 29 [ 30 ] 31 32 33 34 35 36


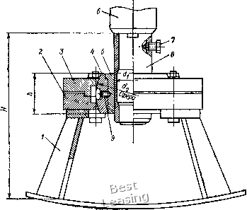
Рис. 91. Внутренняя цилиндрическая концевая опора (тип I):

i-стойка: 2-корпус; Д-винт; 4-втулка подшипника; 5-вал; б-винт; 7-втулка вала


Рис. 92. Внутренняя сферическая концевая опора (тип II):

/-стойка; 2-нижнее кольцо; S-верхнее кольцо; 4-сферическая пята; 5-втулка подшипника; б-вал; 7-винт; в-Ьтулка вала; S-винт

2, 4. 5. 6. г


Рис. 93. Наружная цилиндрическая концевая опора (тип III):

/ - фланец со стойкой; 2-фторопластовое уплотнение; 5-защитный колокол; 4-винт; 5-корпус; 5-втулка подшипника; 7-втулка вала; в-вал; 5-винт; /О-фланец днища; -штуцер


Рис. 94. Наружная сферическая концевая опора (тип IV):

i-фланец со стойкой; 2-направляющее кольцо; 5-сферическая пята; 4-втулка подшипника; 5-втулка вала; 5-вал; 7 -винт; в-фланец днища; 9-штуцер



•Наружная опора (типы III, IV и V) состоит из фланца со стойкой, в которую установлена втулка подшипника. Фланец крепится снизу к днищу аппарата, имеющему отверстие для установки опоры. Благодаря разъемному соединению облегчается монтаж и демонтаж опоры, а также ее обслуживание в процессе эксплуатации,. Размещение штуцера во фланце опоры дает возможность подводить к ней извне смазывающую


Рис. 95. Наружная сферическая,концевая опора со сливом (тип Y);

7-фланец со стойкой"; 2-направлаюшее кольцо; 3-сферическая Ьята; 4-втулка Ьодшипника; 6-втулка вала; 6-вал; 7-лннт; 8-фланец днища; 9-сливной трубопровод; W-винт

жидкость, В ТОМ числе при температуре в аппарате выше 80 °С, являющуюся одним из компонентов рабочей среды или нейтральную по отношению к рабочей среде с температурой не выше 40 °С и давлением не менее чем на 0,5 кгс/см выше давления в аппарате. После монтлжа наружной опоры и ее установки относительно вала производится фиксация соединительных фланцев штифтами, а при работе аппарата с токсичными и взрывоопасными средами допускается применение соединитель-ньк фланцев с уплотнительной поверхностью типа шип - паз. Основные размеры концевых опор даны в табл. 49. Концевые подшипниковые опоры, показанные на рис. 93, 96, предназначены для абразивосодержащих рабочих сред. Защитные свойства конического колокола (рис. 93) заключаются в отбрасывании


Рис. 96. Аппарат с концевой наружной опоройт

i -вал; i -втулка подшипника; втулка вала;. 4-корпус подшипника; У-дишЦ» аппарата; б-мешалка



о со

О CO

о ю со

&

o>

>

>

.188

твердых частиц при вращении центробежными силами и создаваемым давлением- жидкости. Этому способствует также повышенное-давление внутри колокола, обеспечиваемое смазывающей жидкостью, подаваемой извне через штуцер. Опора, показанная на рис. 96, также защищена от попадания твердых частиц вращающейся -насадкой, образующей радиальный зазор с корпусом опоры.

Целесообразность установки нижних концевых подшипниковых опор следует определять из условия виброустойчивости валов (РТМ 26-01-72-75). В зависимости от соотношения рабочей угловой скорости (й и первой критической угловой скорости (Oi валы могут быть жесткими при ю <; coi и гибкими при

(О > 0)1.

Условие виброустойчивости гибких валов определяется по формуле

<о/сй1=1,3- 1,5. (88)

Гибкие валы с мешалками могут работать только в жидкой среде с высотой заполнения аппарата не менее половины его диаметра. Условие виброустойчивости жестких валов, работающих в воздухе или в системе жидкость - жидкость, жидкость твердое тело, определяется по формуле

©/со, < 0,7. (89)

Условие виброустойчивости жестких валов, работающих в системе жидкость-газ, для всех типов мешалок, кроме лопастных,

(u/coi<0,6 (90)

и с лопастными мешалками

G)/(Oi < 0,4.

(91)

Сферические концевые опоры рекомендуется применять для валов при L/Z) > 50, где L - длина вала; D - диаметр вала.

Рекомендуемые материалы пары трения (втулки пЪдшипника и вала) приведены в табл. 50 и 51. Допускается применение других материалов, если по своим физико-механическим свойствам они не уступают материалам, указанным в этих таблицах, т. е. у них в соответствующих парах трения не ниже предел прочности на сжатие, ударная вязкость, модуль упругости, теп>-лопроводность, теплостойкость и не выше коэффициенты линей« ного расширения и трения. . ;

Условия применения пар трения в опорах следующйег<Мк>* рость скольжения не более 2 м/с; среднее давление в с0П1$же-нии из металла не более 7-10 кгс/см, из полимерных материалов не более 10-30 кгс/см и из графита не более 1(Н 16 кгс/см.



0 1 2 3 4 5 6 7 8 9 10 11 12 13 14 15 16 17 18 19 20 21 22 23 24 25 26 27 28 29 [ 30 ] 31 32 33 34 35 36