Промышленный лизинг Промышленный лизинг  Методички 

0 1 2 3 4 5 6 7 8 9 10 11 12 13 14 15 16 17 18 19 20 21 22 [ 23 ] 24 25 26 27 28 29 30 31 32 33 34 35 36 37 38 39 40 41 42 43 44 45 46 47 48 49 50 51 52 53 54 55 56 57 58 59 60 61 62 63 64 65 66 67 68 69 70 71 72 73

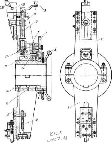
шарнирно соединенной с нижней частью 2 суппорта и борштангой посредством шпонки 14 и винтом 13.

Для радиальной подачи резцедержавки 19 необходимо вручную остановить маховичок 8, не прекращая вращения борштанги.


Рис. 48. Расточной суппорт с маховиком и зубчатыми колесами

В результате зубчатое колесо 9 также остановится, а зубчатое колесо 7 начнет обкатываться вокруг колеса 9 и приведет во вращение цилиндрические колеса 6 и 15, конические колеса 16 17 v, винт 5. Этот винт через гайку 4 обеспечит подачу резцедержавки 19 с резцом 18, который и подрежет торец обрабатываемой детали.

Ручное установочное перемещение резцедержавки 19 осуществляется с помощью рукоятки 3. При автоматическом перемещении рукоятка снимается с винта.



Расточка отверстия корпусной детали производится резцом И, закрепленным в державке 12 нижней части 2 суппорта. Рабочая подача сообщается столу с изделием или шпинделю с борштангой.

Предварительная установка резца на требуемый диаметр расточки производится смещением державки 12 по направляющим нижней части 2 суппорта, а точная регулировка- резца - вращением винта 10.

Летучий суппорт, закрепленный на борштанге, применяется при обработке торцовых поверхностей и расточке канавок в отверстиях диаметром более 800 мм. Обработка торцовых поверхностей производится резцом, закрепленным в горизонтальном пазу резцедержавки. Канавки растачивают резцом, установленным в вертикальном пазу резцедержавки. Конструкция летучего суппорта аналогичная конструкциям приведенных выше резцовых головок.

§ 23. ПРИНАДЛЕЖНОСТИ, ПОСТАВЛЯЕМЫЕ С ГОРИЗОНТАЛЬНО-РАСТОЧНЫМ СТАНКОМ

С расточным станком завод-изготовитель поставляет заказчику комплект вспомогательного инструмента и принадлежностей. К числу вспомогательных инструментов, необходимых при наладке станка, относятся: ключи гаечные односторонние и двусторонние под головку болта размером 17, 22, 27, 36 мм, торцовый ключ для установочных гаек размером 155-165 мм с фрезерованными шлицами, торцовый ключ для установочных гаек размером 175- 195 мм, со сверлеными отверстиями, ключ шестигранный размером 12 мм, специальный ключ для шпинделя планшайбы и специальная накидная рукоятка.

К числу принадлежностей, поставляемых со станком, относятся: задняя стойка люнета, патрон, и принадлежности для нарезки резьбы, резцедержатели на планшайбу для обточки фланцев и расточки отверстий, фланец для фрезерной головки и сменные втулки для люнета.

Для выполнения координатной расточки к расточному станку, кроме того, прилагаются индикаторные и нониусные устройства с лупой для шпиндельной бабки, стойки люнета и стола.

Для проведения различных расточных работ станок обеспечивают расточными оправками для квадратных и круглых резцов, конусными переходными втулками, а также клиньями для затяжки и выколотки инструмента.

Размеры сменных втулок для люнета и расточных оправок для резцов приведены в табл. 5 и 6.

Конусные переходные втулки поставляются с внутренним конусом Морзе № 1-4 и наружным конусом Морзе № 2-5.

Клинья для выколотки и затяжки инструмента применяют для конусов Морзе №1,2, 3, 4, 5, 6 и шпинделя диаметром 85 мм и поставляются со станком полным набором.

Кронштейн (рис. 49) применяется для повышения жесткости шпинделя расточного станка при фрезеровании плоскостей с боль-



5. Размеры сменных втулок для люнета

Внутренний диаметр, мм

20, 25, 30, 35.

40, 45, 60

50, 70, 80

Наружный диаметр, мм

6. Размеры расточных оправок для резцов прямоугольного сечения

Диаметр, мм

20, 25, 30

35, 40, 45

45, 50. 60

Длина, мм

1000

1400

1750

2100

2250

Конус Морзе №

2. 3, 3

Диаметр, мм

Длина, мм

Конус Морзе №

Диаметр, мм

Длина, мм

Конус Морзе №

ШИМ вылетом шпинделя. Кронштейн закрепляется на планшайбе станка болтами / и гайками 2. Внутренний диаметр опорной бронзовой втулки 3 растачивают по шпинделю с посадкой движения


Рис. 49. Кронштейн для фрезерования



0 1 2 3 4 5 6 7 8 9 10 11 12 13 14 15 16 17 18 19 20 21 22 [ 23 ] 24 25 26 27 28 29 30 31 32 33 34 35 36 37 38 39 40 41 42 43 44 45 46 47 48 49 50 51 52 53 54 55 56 57 58 59 60 61 62 63 64 65 66 67 68 69 70 71 72 73